0
ADG5204
  • ADG5204
  • ADG5204
  • ADG5204

ADG5204

RECOMMENDED FOR NEW DESIGNS

High Voltage, Latch-up Proof, 4-Channel Multiplexer

Analog Devices ADG5204 Product Info

10 February 2026 8

Features

  • Latch-up proof
  • 3 pF off source capacitance
  • 26 pF off drain capacitance
  • −0.6 pC charge injection
  • Low leakage: 0.4 nA maximum at 85ºC
  • ±9 V to ±22 V dual-supply operation
  • 9 V to 40 V single-supply operation
  • 48 V supply maximum ratings
  • Fully specified at ±15 V, ±20 V, +12 V, and +36 V
  • VSS to VDD analog signal range

Part details & applications

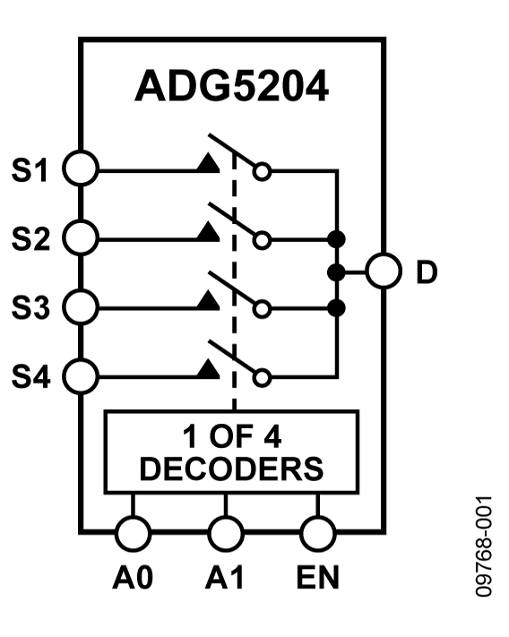
The ADG5204 is a complementary metal oxide semiconductor (CMOS) analog multiplexer, comprising four single channels.

The ultralow capacitance and charge injection of these switches make them ideal solutions for data acquisition and sample-and-hold applications, where low glitch and fast settling are required. Fast switching speed together with high signal bandwidth make the ADG5204 suitable for video signal switching.

The ADG5204 is designed on a trench process, which guards against latch-up. A dielectric trench separates the P and N channel transistors, thereby preventing latch-up even under severe overvoltage conditions. The ADG5204 switches one of four inputs to a common output, D, as determined by the 3-bit binary address lines, A0, A1, and EN. Logic 0 on the EN pin disables the device. Each switch conducts equally well in both directions when on, and each switch has an input signal range that extends to the supplies. In the off condition, signal levels up to the supplies are blocked. All switches exhibit break-before-make switching action.

APPLICATIONS

  • Automatic test equipment
  • Data acquisition
  • Instrumentation
  • Avionics
  • Audio and video switching
  • Communication systems

PRODUCT HIGHLIGHTS

  1. Trench Isolation Guards Against Latch-Up. A dielectric trench separates the P and N channel transistors, thereby preventing latch-up even under severe overvoltage conditions.
  2. Ultralow capacitance and < 1 pC charge injection.
  3. Dual-Supply Operation. For applications where the analog signal is bipolar, the ADG5204 can be operated from dual supplies up to ±22 V.
  4. Single-Supply Operation. For applications where the analog signal is unipolar, the ADG5204 can be operated from a single rail power supply up to 40 V.
  5. 3

Subscribe to Welllinkchips !
Your Name
* Email
Submit a request