0
ADG1411
  • ADG1411
  • ADG1411
  • ADG1411

ADG1411

PRODUCTION

1.5 Ω On Resistance, ±15 V/+12 V/±5 V, iCMOS®, Quad SPST Switch

Analog Devices ADG1411 Product Info

10 February 2026 6

Features

  • 1.5 Ω on resistance
  • 0.3 Ω on-resistance flatness
  • 0.1 Ω on-resistance match between channels
  • Continuous current per channel
    • LFCSP: 250 mA
    • TSSOP: 190 mA
  • Fully specified at +12 V, ±15 V, and ±5 V
  • No VL supply required
  • 3 V logic-compatible inputs
  • Rail-to-rail operation
  • 16-lead TSSOP and 16-lead, 4 mm × 4 mm LFCSP
  • AEC-Q100 qualified for automotive applications

Part details & applications

The ADG1411/ADG1412/ADG1413 are monolithic complementary metal-oxide semiconductor (CMOS) devices containing four independently selectable switches designed on an iCMOS® process. iCMOS (industrial CMOS) is a modular manufacturing process combining high voltage CMOS and bipolar technologies. It enables the development of a wide range of high performance analog ICs capable of 33 V operation in a footprint that no previous generation of high voltage devices has been able to achieve. Unlike analog ICs using conventional CMOS processes, iCMOS components can tolerate high supply voltages while providing increased performance, dramatically lower power consumption, and reduced package size.

The on-resistance profile is very flat over the full analog input range, ensuring excellent linearity and low distortion when switching signals.

iCMOS construction ensures ultralow power dissipation, making the devices ideally suited for portable and battery-powered instruments.

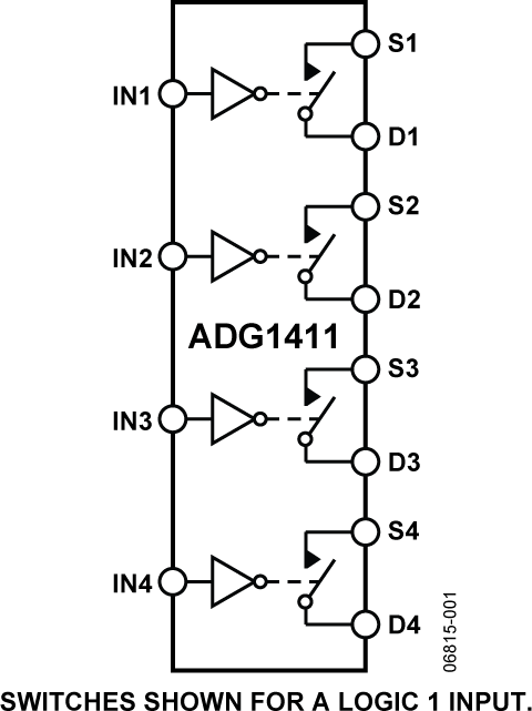
The ADG1411/ADG1412/ADG1413 contain four independent single-pole/single-throw (SPST) switches. The ADG1411 and ADG1412 differ only in that the digital control logic is inverted. The ADG1411 switches are turned on with Logic 0 on the appropriate control input, whereas the ADG1412 switches are turned on with Logic 1. The ADG1413 has two switches with digital control logic similar to that of the ADG1411; the logic is inverted on the other two switches. Each switch conducts equally well in both directions when on and has an input signal range that extends to the supplies. In the off condition, signal levels up to the supplies are blocked.

The ADG1413 exhibits break-before-make switching action for use in multipl

Subscribe to Welllinkchips !
Your Name
* Email
Submit a request