0
AD9837
  • AD9837
  • AD9837

AD9837

PRODUCTION

Low Power, 8.5 mW, 2.3 V to 5.5 V, Programmable Waveform Generator

Analog Devices AD9837 Product Info

10 February 2026 7

Features

  • Digitally programmable frequency and phase
  • 8.5 mW power consumption at 2.3 V
  • MCLK speed: 16 MHz (B grade), 5 MHz (A grade)
  • 28-bit resolution: 0.06 Hz at 16 MHz reference clock
  • Sinusoidal, triangular, and square wave outputs
  • 2.3 V to 5.5 V power supply
  • 3-Wire SPI interface
  • See datasheet for additional features

Part details & applications

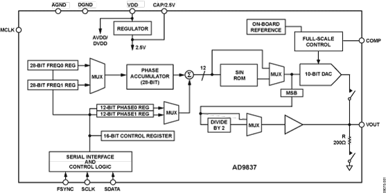
The AD9837 is a low power, programmable waveform generator capable of producing sine, triangular, and square wave outputs. Waveform generation is required in various types of sensing, actuation, and time domain reflectometry (TDR) applications. The output frequency and phase are software programmable, allowing easy tuning. The frequency registers are 28 bits: with a 16 MHz clock rate, resolution of 0.06 Hz can be achieved; with a 5 MHz clock rate, the AD9837 can be tuned to 0.02 Hz resolution.

The AD9837 is written to via a 3-wire serial interface. This serial interface operates at clock rates up to 40 MHz and is compatible with DSP and microcontroller standards. The device operates with a power supply from 2.3 V to 5.5 V.

The AD9837 has a power-down (SLEEP) function. Sections of the device that are not being used can be powered down to minimize the current consumption of the part. For example, the DAC can be powered down when a clock output is being generated.

The AD9837 is available in a 10-lead LFCSP_WD package.

APPLICATIONS

  • Frequency stimulus/waveform generation
  • Liquid and gas flow measurement
  • Sensory applications: proximity, motion, and defect detection
  • Line loss/attenuation
  • Test and medical equipment
  • Sweep/clock generators
  • Time domain reflectometry (TDR) applications

Subscribe to Welllinkchips !
Your Name
* Email
Submit a request