0
AD7709
  • AD7709

AD7709

PRODUCTION

16-Bit Sigma Delta ADC with Current Sources, Switchable Reference Inputs and I/O Port

Analog Devices AD7709 Product Info

10 February 2026 10

Features

  • 16-Bit Σ-Δ ADC
  • Simultaneous 50 Hz and 60 Hz Rejection at 20 Hz Update Rate
  • VREF Select Allows Absolute and Ratiometric Measurement Capability
  • Programmable Gain Front End
  • ISOURCE Select
  • 16-Bit No Missing Codes
  • 13-Bit p-p Resolution @ 20 Hz, 20 mV Range
  • 16-Bit p-p Resolution @ 20 Hz, 2.56 V Range

Part details & applications

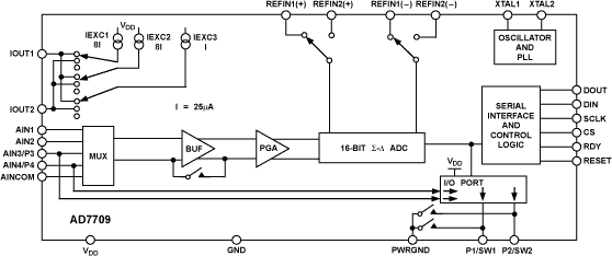
The AD7709 is a complete analog front-end for low frequency measurement applications. The AD7709 contains a 16-bit sigma delta ADC with PGA and can be configured as 2 fully-differential input channels or 4 pseudo-differential input channels. Inputs signal ranges from 20mV to 2.56V can be directly converted using the AD7709. These signals can be converted directly from a transducer without the need for signal conditioning. Other on-chip features include three software configurable current sources, switchable reference inputs, low side power switches and a 4-bit digital I/O port.

Subscribe to Welllinkchips !
Your Name
* Email
Submit a request