0
AD6684
  • AD6684
  • AD6684

AD6684

RECOMMENDED FOR NEW DESIGNS

135 MHz Quad IF Receiver

Analog Devices AD6684 Product Info

10 February 2026 17

Features

  • JESD204B (Subclass 1) coded serial digital outputs
    • Lane rates up to 15 Gbps
  • 1.68 W total power at 500 MSPS
    • 420 mW per analog-to-digital converter (ADC) channel
  • SFDR = 82 dBFS at 305 MHz (1.8 V p-p input range)
  • SNR = 66.8 dBFS at 305 MHz (1.8 V p-p input range)
  • Noise density = −151.5 dBFS/Hz (1.8 V p-p input range)
  • Analog input buffer
  • On-chip dithering to improve small signal linearity
  • Flexible differential input range
    • 1.44 V p-p to 2.16 V p-p (1.80 V p-p nominal) 
  • 82 dB channel isolation/crosstalk
  • 0.975 V, 1.8 V, and 2.5 V dc supply operation

  • Noise shaping requantizer (NSR) option for main receiver
  • Variable dynamic range (VDR) option for digital 
    • predistortion (DPD)
  • 4 integrated wideband digital downconverters (DDCs)
    • 48-bit numerically controlled oscillator (NCO), up to 4 cascaded half-band filters
  • 1.4 GHz analog input full power bandwidth
  • Amplitude detect bits for efficient automatic gain control 
    • (AGC) implementation
  • Differential clock input
  • Integer clock divide by 1, 2, 4, or 8
  • On-chip temperature diode
  • Flexible JESD204B lane configurations

Part details & applications

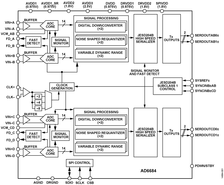
The AD6684 is a 135 MHz bandwidth, quad intermediate frequency (IF) receiver. It consists of four 14-bit, 500 MSPS ADCs and various digital processing blocks consisting of four wideband DDCs, an NSR, and VDR monitoring. The device has an on-chip buffer and a sample-and-hold circuit designed for low power, small size, and ease of use. This device is designed to support communications applications. The analog full power bandwidth of the device is 1.4 GHz. 

The quad ADC cores feature a multistage, differential pipelined architecture with integrated output error correction logic. Each ADC features wide bandwidth inputs supporting a variety of user-selectable input ranges. An integrated voltage reference eases design considerations. The AD6684 is optimized for wide input bandwidth, excellent linearity, and low power in a small package. 

The analog inputs and clock signal input are differential. Each pair of ADC data outputs are internally connected to two DDCs through a crossbar mux. Each DDC consists of up to five cascaded signal processing stages: a 48-bit frequency translator, NCO, and up to four half-band decimation filters. 

Each ADC output is connected internally to an NSR block. The integrated NSR circuitry allows improved SNR performance in a smaller frequency band within the Nyquist bandwidth. The device supports two different output modes selectable via the serial port interface (SPI). With the NSR feature enabled, the outputs of the ADCs are processed such that the AD6684 supports enhanced SNR performance within a limited portion of the Nyquist bandwidth while maintaining a 9-bit output resolution. 

Each ADC output is also connected internally to a VDR block. This optional mode allows full dynamic range for defined input signals. Inputs that are within a defined mask (based on DPD applications) are passed unaltered. Inputs that violate this defined mask result in the reduction of the o

Subscribe to Welllinkchips !
Your Name
* Email
Submit a request