0
AD5664R
  • AD5664R
  • AD5664R

AD5664R

PRODUCTION

Quad, 16-Bit nanoDAC® with 5ppm/°C On-Chip Reference

Analog Devices AD5664R Product Info

10 February 2026 8

Features

  • Low power, smallest pin-compatible, quad nanoDACs 
  • AD5664R: 16 bits
  • AD5644R: 14 bits
  • AD5624R: 12 bits
  • User selectable external or internal reference External reference default On-chip 1.25 V/2.5 V, 5 ppm/°C reference
  • 10-lead MSOP; 10-lead, 3 mm × 3 mm LFCSP_WD; and 12-ball, 1.665 mm × 2.245 mm WLCSP
  • 2.7 V to 5.5 V power supply
  • Guaranteed monotonic by design
  • Power-on reset to zero scale
  • Per channel power-down
  • Serial interface, up to 50 MHz

Part details & applications

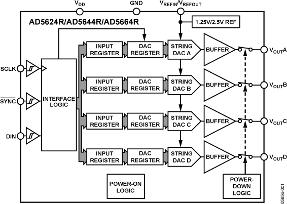
The AD5624R/AD5644R/AD5664R, members of the nanoDAC® family, are low power, quad, 12-/14-/16-bit buffered voltage-out DACs. All devices operate from a single 2.7 V to 5.5 V supply and are guaranteed monotonic by design.

The AD5624R/AD5644R/AD5664R have an on-chip reference. The AD56x4R-3 has a 1.25 V, 5 ppm/°C reference, giving a full-scale output range of 2.5 V; the AD56x4R-5 has a 2.5 V, 5 ppm/°C reference giving a full-scale output range of 5 V. The on-chip reference is off at power-up, allowing the use of an external reference; all devices can be operated from a single 2.7 V to 5.5 V supply. The internal reference is enabled via a software write.

The part incorporates a power-on reset circuit that ensures the DAC output powers up to 0 V and remains there until a valid write takes place. The part contains a per-channel power-down feature that reduces the current consumption of the device to 480 nA at 5 V and provides software-selectable output loads while in power-down mode. The low power consumption of this part in normal operation makes it ideally suited to portable battery-operated equipment.

The AD5624R/AD5644R/AD5664R use a versatile 3-wire serial interface that operates at clock rates up to 50 MHz, and is compatible with standard SPI, QSPI, MICROWIRE, and DSP interface standards. The on-chip precision output amplifier enables rail-to-rail output swing.

Product Highlights

  1. Quad 12-/14-/16-bit DACs.
  2. On-chip 1.25 V/2.5 V, 5 ppm/°C reference.
  3. Available in 10-lead MSOP; 10-lead, 3 mm × 3 mm LFCSP_WD; and 12-ball, 1.665 mm × 2.245 mm WLCSP.
  4. Low power, typically consumes 1.32 mW at 3 V and 2.25 mW at 5 V.

Applications

  • Process controls
  • Data acquisition systems
  • Portable battery-powered