0
AD5315
  • AD5315
  • AD5315

AD5315

PRODUCTION

2.5 V to 5.5 V, 500 µA, 2-Wire Interface Quad Voltage Output 10-Bit DAC

Analog Devices AD5315 Product Info

10 February 2026 16

Features

  • Four 10-Bit DACS in 10-Lead MicroSOIC
  • Low Power: 600 µA @ 5 V, 500 µA @ 3 V
  • Power-Down to 200 nA @ 5 V, 80nA @ 3 V
  • Guaranteed Monotonic by Design
  • Power-On-Reset to Zero Volts
  • Three Power-Down Functions
  • Double-Buffered Input Logic
  • Output Range: 0 V to VREF
  • 2-Wire (I2C Compatible)
  • Data Readback Facility; Software Clear Facility
  • Simultaneous Update via LDAC bit (active low)
  • Temperature Range: −40°C to 105°C

Part details & applications

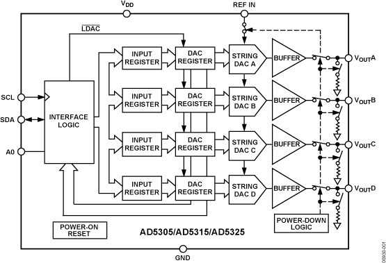
The AD5305 / AD5315 / AD5325 are quad 8-, 10- and 12-bit buffered voltage output DACs in a 10-lead microSOIC package that operate from a single 2.5 V to 5.5 V supply consuming 500 µA at 3 V. Their on-chip output amplifiers allow rail-to-rail output swing with a slew rate of 0.7 V/µs. A 2-wire serial interface is used which operates at clock rates up to 400 kHz. This interface is SMBus-compatible at VDD < 3.6 V. Multiple devices can be placed on the same bus.

PRODUCT HIGHLIGHTS

  1. Available in a 10-lead MicroSOIC package
  2. Low power, single supply operation from 2.5 V to 5.5 V supply
  3. Consumes 1.5mW at 3 V and 3 mW at 5 V
  4. Rail-to-Rail output with a slew rate of 0.7 V/µs
  5. Multiple devices can share the same bus
  6. Serial interface with clock rates up to 400 kHz
  7. Pin- and Software-Compatible with the AD5305 (8-Bit) and the AD5325 (12-Bit)

I2C (Inter-IC) is a trademark of Philips Semiconductors.

Subscribe to Welllinkchips !
Your Name
* Email
Submit a request