0
AD5305
  • AD5305
  • AD5305

AD5305

PRODUCTION

2.5 V to 5.5 V, 500 µA, 2-Wire Interface Quad Voltage Output 8-Bit DAC in a 10-Lead MicroSOIC Package

Analog Devices AD5305 Product Info

10 February 2026 6

Features

  • AD5305: 4 buffered 8-bit DACs in 10-lead MSOP A version: ±1 LSB INL, B version: ±0.625 LSB INL
  • AD5315: 4 buffered 10-bit DACs in 10-lead MSOP A version: ±4 LSB INL, B version: ±2.5 LSB INL
  • AD5325: 4 buffered 12-bit DACs in 10-lead MSOP A version: ±16 LSB INL, B version: ±10 LSB INL
  • Low power operation: 500 μA @ 3 V, 600 μA @ 5 V
  • 2-wire (I2C®-compatible) serial interface
  • 2.5 V to 5.5 V power supply
  • Power-down to 80 nA @ 3 V, 200 nA @ 5 V
  • Three power-down modes
  • Guaranteed monotonic by design over all codes
  • Double-buffered input logic
  • Output range: 0 V to VREF
  • Power-on reset to 0 V
  • Simultaneous update of outputs (LDAC function)
  • Software clear facility
  • Data readback facility
  • On-chip rail-to-rail output buffer amplifiers
  • Temperature range: −40°C to +105°C 

Part details & applications

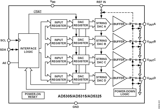
The AD5305 / AD5315 / AD5325 are quad 8-, 10-, and 12-bit buffered voltage output DACs in a 10-lead MSOP that operate from a single 2.5 V to 5.5 V supply, consuming 500 μA at 3 V. Their on-chip output amplifiers allow rail-to-rail output swing with a slew rate of 0.7 V/μs. A 2-wire serial interface that operates at clock rates up to 400 kHz is used. This interface is SMBus compatible at VDD < 3.6 V. Multiple devices can be placed on the same bus.

The references for the four DACs are derived from one reference pin. The outputs of all DACs can be updated simultaneously using the software LDAC function.

The parts incorporate a power-on reset circuit, which ensures that the DAC outputs power up to 0 V and remain there until a valid write takes place to the device. There is also a software clear function to reset all input and DAC registers to 0 V. The parts contain a power-down feature that reduces the current consumption of the devices to 200 nA @ 5 V (80 nA @ 3 V).

The low power consumption of these parts in normal operation makes them ideally suited for portable battery-operated equipment. The power consumption is 3 mW at 5 V, 1.5 mW at 3 V, reducing to 1 μW in power-down mode.

APPLICATIONS

  • Portable battery-powered instruments
  • Digital gain and offset adjustment
  • Programmable voltage and current sources
  • Programmable attenuators
  • Industrial process control

Subscribe to Welllinkchips !
Your Name
* Email
Submit a request