0
TSC2013-Q1
  • TSC2013-Q1
  • TSC2013-Q1
  • TSC2013-Q1

TSC2013-Q1

ACTIVE

1.2V to 3.6V, 12-Bit, Nanopower, 4-Wire Touch Screen Controller

Texas Instruments TSC2013-Q1 Product Info

1 April 2026 0

Parameters

Control interface

I2C

Rating

Automotive

Operating temperature range (°C)

-40 to 125

Package

TSSOP (PW)-16-32 mm² 5 x 6.4

Features

  • Qualified for Automotive Applications
  • AEC-Q100 Qualified With the Following Results:
    • Device Temperature Grade 1: –40°C to 125°C
    • Device HBM ESD Classification Level 2
    • Device CDM ESD Classification Level C4B
  • 4-Wire Touch Screen Interface
  • Ratiometric Conversion
  • Single 1.6-V to 3.6-V Supply:
    • I/OVDD 1.2 to 3.6 V
    • SNSVDD: 1.6 to 3.6 V
  • Preprocessing to Reduce Bus Activity
  • High-Speed I2C-Compatible Interface
  • Internal Detection of Screen Touch
  • Register-Based Programmable:
    • 10-Bit or 12-Bit Resolution
    • Sampling Rates
    • System Timing
  • Touch Pressure Measurement
  • Auto Power-Down Control
  • Low Power:
    • 430 µA at 1.8 V, 50 SSPS
    • 320 µA at 1.6 V, 50 SSPS
    • 58 µA at 1.6 V, 8.2 kSPS Eq. Rate
  • Qualified for Automotive Applications
  • AEC-Q100 Qualified With the Following Results:
    • Device Temperature Grade 1: –40°C to 125°C
    • Device HBM ESD Classification Level 2
    • Device CDM ESD Classification Level C4B
  • 4-Wire Touch Screen Interface
  • Ratiometric Conversion
  • Single 1.6-V to 3.6-V Supply:
    • I/OVDD 1.2 to 3.6 V
    • SNSVDD: 1.6 to 3.6 V
  • Preprocessing to Reduce Bus Activity
  • High-Speed I2C-Compatible Interface
  • Internal Detection of Screen Touch
  • Register-Based Programmable:
    • 10-Bit or 12-Bit Resolution
    • Sampling Rates
    • System Timing
  • Touch Pressure Measurement
  • Auto Power-Down Control
  • Low Power:
    • 430 µA at 1.8 V, 50 SSPS
    • 320 µA at 1.6 V, 50 SSPS
    • 58 µA at 1.6 V, 8.2 kSPS Eq. Rate

Description

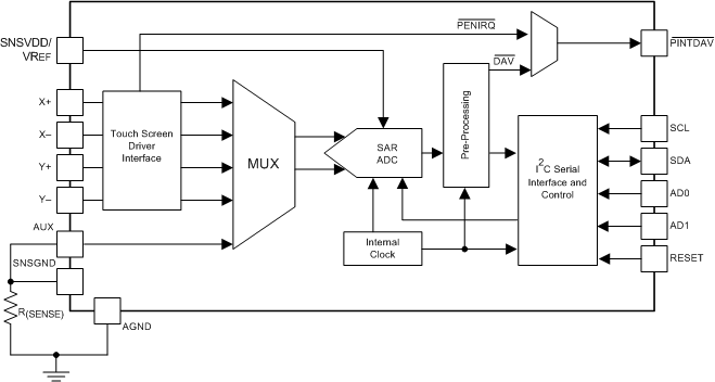
The TSC2013-Q1 device is a very low-power dual-touch screen controller designed to work with power-sensitive, low-cost touch-screen displays in automotive infotainment and navigation systems. It contains a complete, ultralow-power, 12-bit, analog-to-digital (ADC) resistive touch-screen converter, including drivers and the control logic to measure touch pressure.

The TSC2013-Q1 device enables pinch, rotate, and zoom functionality over a standard four-wire interface. The device supports an I2C serial bus and data transmission protocol in all three defined modes: standard, fast, and high-speed. The 10 or 12-bit ADC within is easily programmable to customize system and user experience.

The TSC2013-Q1 device is a very low-power dual-touch screen controller designed to work with power-sensitive, low-cost touch-screen displays in automotive infotainment and navigation systems. It contains a complete, ultralow-power, 12-bit, analog-to-digital (ADC) resistive touch-screen converter, including drivers and the control logic to measure touch pressure.

The TSC2013-Q1 device enables pinch, rotate, and zoom functionality over a standard four-wire interface. The device supports an I2C serial bus and data transmission protocol in all three defined modes: standard, fast, and high-speed. The 10 or 12-bit ADC within is easily programmable to customize system and user experience.

Subscribe to Welllinkchips !
Your Name
* Email
Submit a request