0
TPS62651
  • TPS62651
  • TPS62651

TPS62651

ACTIVE

800mA, 6MHz High Efficiency Step-Down Converter with I2C Compatible Interface

Texas Instruments TPS62651 Product Info

1 April 2026 0

Parameters

Rating

Catalog

Topology

Buck

Iout (max) (A)

0.8

Vin (max) (V)

5.5

Vin (min) (V)

2.3

Vout (max) (V)

1.4375

Vout (min) (V)

0.75

Features

Enable, Light load efficiency, Output discharge, Synchronous Rectification

Control mode

Voltage mode

Operating temperature range (°C)

-40 to 85

Iq (typ) (A)

0.000038

Duty cycle (max) (%)

100

Package

DSBGA (YFF)-9-1.96000000000000028000000000000001 mm² 1.4000000000000001 x 1.4000000000000001

Features

  • 86% Efficiency at 6 MHz Operation
  • 38µA Quiescent Current
  • Wide VIN Range From 2.3 V to 5.5 V
  • 6MHz Regulated Frequency Operation
  • Best-In-Class Load and Line Transient
  • ±2% PWM DC Voltage Accuracy
  • Automatic PFM/PWM Mode Switching
  • Low Ripple Light-Load PFM
  • I2C Compatible Interface up to 3.4 Mbps
  • Pin-Selectable Output Voltage (VSEL)
  • Internal Soft-Start, <150-µs Start-Up Time
  • Current Overload and Thermal Shutdown Protection
  • Three Surface-Mount External Components Required
    (One MLCC Inductor, Two Ceramic Capacitors)
  • Complete Sub 1-mm Component Profile Solution
  • Total Solution Size <13mm2
  • Available in a 9-Pin NanoFree (CSP) Packaging
  • APPLICATIONS
    • SmartReflex Compliant Power Supply
    • OMAP Application Processor Core Supply
    • Cell Phones, Smart-Phones
    • Micro DC-DC Converter Modules

NanoFree Is a trademark of Texas Instruments
SmartReflex Is a trademark of Texas Instruments
OMAP Is a trademark of Texas Instruments

  • 86% Efficiency at 6 MHz Operation
  • 38µA Quiescent Current
  • Wide VIN Range From 2.3 V to 5.5 V
  • 6MHz Regulated Frequency Operation
  • Best-In-Class Load and Line Transient
  • ±2% PWM DC Voltage Accuracy
  • Automatic PFM/PWM Mode Switching
  • Low Ripple Light-Load PFM
  • I2C Compatible Interface up to 3.4 Mbps
  • Pin-Selectable Output Voltage (VSEL)
  • Internal Soft-Start, <150-µs Start-Up Time
  • Current Overload and Thermal Shutdown Protection
  • Three Surface-Mount External Components Required
    (One MLCC Inductor, Two Ceramic Capacitors)
  • Complete Sub 1-mm Component Profile Solution
  • Total Solution Size <13mm2
  • Available in a 9-Pin NanoFree (CSP) Packaging
  • APPLICATIONS
    • SmartReflex Compliant Power Supply
    • OMAP Application Processor Core Supply
    • Cell Phones, Smart-Phones
    • Micro DC-DC Converter Modules

NanoFree Is a trademark of Texas Instruments
SmartReflex Is a trademark of Texas Instruments
OMAP Is a trademark of Texas Instruments

Description

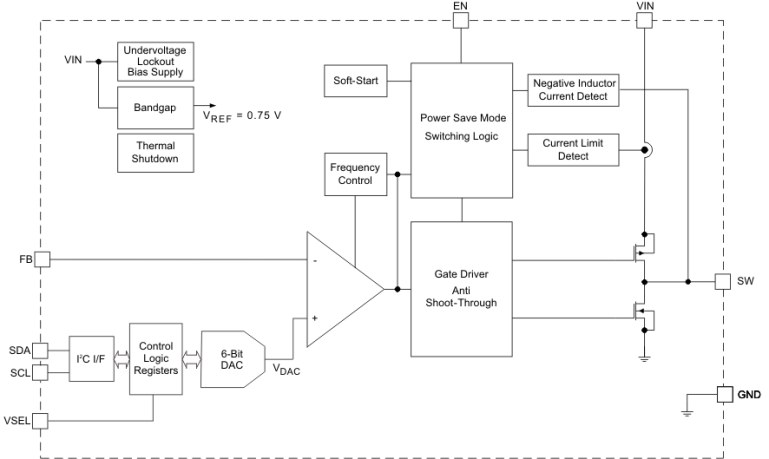
The TPS6265x device is a high-frequency synchronous step-down dc-dc converter optimized for battery-powered portable applications. Intended for low-power applications, the TPS6265x supports up to 800mA load current and allows the use of small, low cost inductors and capacitors.

The device is ideal for mobile phones and similar portable applications powered by a single-cell Li-Ion battery. With an output voltage range adjustable via I2C interface down to 0.75V, the device supports low-voltage DSPs and processors core power supplies in smart-phones and handheld computers.

The TPS6265x operates at a regulated 6MHz switching frequency and enters the efficiency optimized power-save mode operation at light load currents to maintain high efficiency over the entire load current range. In the shutdown mode, the current consumption is reduced to less than 3.5µA.

The serial interface is compatible with Standard, Fast/Fast Plus and High-Speed mode I2C specification allowing transfers at up to 3.4 Mbps. This communication interface is used for dynamic voltage scaling with voltage steps down to 12.5mV, for setting the output voltage or reprogramming the mode of operation (PFM/PWM or Forced PWM) for instance.

The TPS6265x is available in an 9-pin chip-scale package (CSP).

The TPS6265x device is a high-frequency synchronous step-down dc-dc converter optimized for battery-powered portable applications. Intended for low-power applications, the TPS6265x supports up to 800mA load current and allows the use of small, low cost inductors and capacitors.

The device is ideal for mobile phones and similar portable applications powered by a single-cell Li-Ion battery. With an output voltage range adjustable via I2C interface down to 0.75V, the device supports low-voltage DSPs and processors core power supplies in smart-phones and handheld computers.

The TPS6265x operates at a regulated 6MHz switching frequency and enters the efficiency optimized power-save mode operation at light load currents to maintain high efficiency over the entire load current range. In the shutdown mode, the current consumption is reduced to less than 3.5µA.

The serial interface is compatible with Standard, Fast/Fast Plus and High-Speed mode I2C specification allowing transfers at up to 3.4 Mbps. This communication interface is used for dynamic voltage scaling with voltage steps down to 12.5mV, for setting the output voltage or reprogramming the mode of operation (PFM/PWM or Forced PWM) for instance.

The TPS6265x is available in an 9-pin chip-scale package (CSP).

Subscribe to Welllinkchips !
Your Name
* Email
Submit a request