0
TPS61085A-Q1
  • TPS61085A-Q1
  • TPS61085A-Q1

TPS61085A-Q1

ACTIVE

650-kHz and 1.2-MHz, 18.5-V step-up DC/DC converter, AEC-Q100 qualified

Texas Instruments TPS61085A-Q1 Product Info

1 April 2026 0

Parameters

Rating

Automotive

Topology

Boost

Vin (max) (V)

6

Vin (min) (V)

2.3

Vout (max) (V)

18.5

Vout (min) (V)

2.8

Switch current limit (typ) (A)

2.6

Features

Enable, Light-load efficiency, Nonsynchronous, UVLO fixed

Operating temperature range (°C)

-40 to 125

Iq (typ) (A)

0.00007

Duty cycle (max) (%)

89

Package

VSSOP (DGK)-8-14.7 mm² 3 x 4.9

Features

  • AEC-Q100 qualified for automotive applications:
    • Device temperature grade 2: –40°C to +105°C, TA
  • 2.3-V to 6-V input voltage range
  • 18.5-V boost converter with 2-A switch current
  • 650-kHz or 1.2-MHz selectable switching frequency
  • Adjustable soft start
  • Thermal shutdown
  • Undervoltage lockout
  • 8-pin VSSOP package
  • AEC-Q100 qualified for automotive applications:
    • Device temperature grade 2: –40°C to +105°C, TA
  • 2.3-V to 6-V input voltage range
  • 18.5-V boost converter with 2-A switch current
  • 650-kHz or 1.2-MHz selectable switching frequency
  • Adjustable soft start
  • Thermal shutdown
  • Undervoltage lockout
  • 8-pin VSSOP package

Description

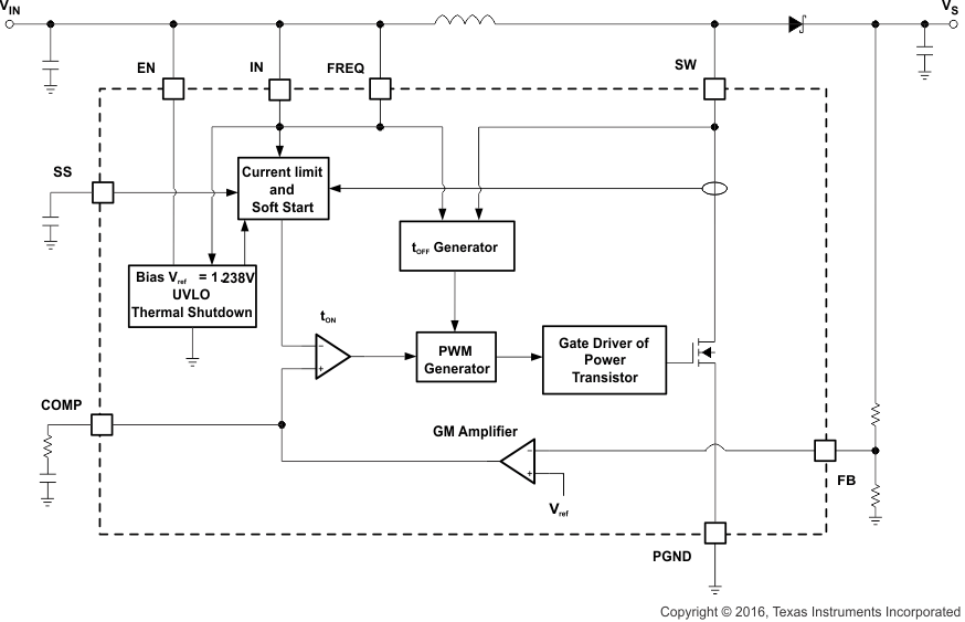
The TPS61085A-Q1 device is a high-frequency, high-efficiency, DC/DC boost converter with an integrated 2-A, 0.13-Ω power switch capable of providing an output voltage up to 18.5 V. The selectable frequency of 650 kHz or 1.2 MHz allows the use of small external inductors and capacitors and provides fast transient response. The external compensation allows optimizing the regulator for application conditions. A capacitor connected to the specific soft-start pin minimizes inrush current at start-up.

The TPS61085A-Q1 device is a high-frequency, high-efficiency, DC/DC boost converter with an integrated 2-A, 0.13-Ω power switch capable of providing an output voltage up to 18.5 V. The selectable frequency of 650 kHz or 1.2 MHz allows the use of small external inductors and capacitors and provides fast transient response. The external compensation allows optimizing the regulator for application conditions. A capacitor connected to the specific soft-start pin minimizes inrush current at start-up.

Subscribe to Welllinkchips !
Your Name
* Email
Submit a request