0
MSP430G2955
  • MSP430G2955
  • MSP430G2955
  • MSP430G2955

MSP430G2955

ACTIVE

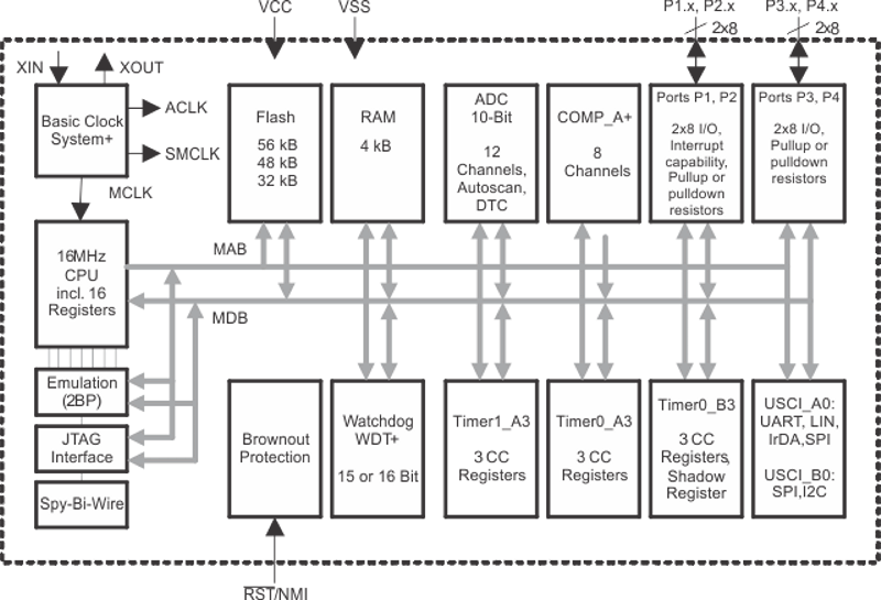
16 MHz MCU with 56KB Flash, 2KB SRAM, 10-bit ADC, comparator, UART/SPI/I2C, timer

Texas Instruments MSP430G2955 Product Info

1 April 2026 0

Parameters

CPU

MSP430

Frequency (MHz)

16

Flash memory (kByte)

56

RAM (kByte)

4

ADC type

10-bit SAR

Features

Real-time clock, Spy-bi-wire, Watchdog timer

UART

1

Number of ADC channels

12

SPI

2

USB

No

Hardware accelerators

0

Operating temperature range (°C)

-40 to 85

Rating

Catalog

Communication interface

I2C, SPI, UART

Operating system

BareMetal (No OS), TI RTOS

Nonvolatile memory (kByte)

56

Number of GPIOs

32

Number of I2Cs

1

Security

Secure debug

Package

TSSOP (DA)-38-101.25 mm² 12.5 x 8.1

Features

  • Low Supply-Voltage Range: 1.8 V to 3.6 V
  • Ultra-Low Power Consumption
    • Active Mode: 250 µA at 1 MHz, 2.2 V
    • Standby Mode: 0.7 µA
    • Off Mode (RAM Retention): 0.1 µA
  • Five Power-Saving Modes
  • Ultra-Fast Wake-Up From Standby Mode in Less Than 1 µs
  • 16-Bit RISC Architecture, 62.5-ns Instruction Cycle Time
  • Basic Clock Module Configurations
    • Internal Frequencies up to 16 MHz With Four Calibrated Frequency
    • Internal Very-Low-Power Low-Frequency (LF) Oscillator
    • 32-kHz Crystal
    • High-Frequency (HF) Crystal up to 16 MHz
    • External Digital Clock Source
    • External Resistor
  • Two 16-Bit Timer_A With Three Capture/Compare Registers
  • One 16-Bit Timer_B With Three Capture/Compare Registers
  • Up to 32 Touch-Sense-Enabled I/O Pins
  • Universal Serial Communication Interface (USCI)
    • Enhanced UART Supporting Auto Baudrate Detection (LIN)
    • IrDA Encoder and Decoder
    • Synchronous SPI
    • I2C™
  • On-Chip Comparator for Analog Signal Compare Function or Slope Analog-to-Digital (A/D) Conversion
  • 10-Bit 200-ksps Analog-to-Digital (A/D) Converter With Internal Reference, Sample-and-Hold, and Autoscan
  • Brownout Detector
  • Serial Onboard Programming, No External Programming Voltage Needed, Programmable Code Protection by Security Fuse
  • Bootstrap Loader
  • On-Chip Emulation Logic
  • Package Options
    • TSSOP: 38 Pin (DA)
    • QFN: 40 Pin (RHA)

  • Low Supply-Voltage Range: 1.8 V to 3.6 V
  • Ultra-Low Power Consumption
    • Active Mode: 250 µA at 1 MHz, 2.2 V
    • Standby Mode: 0.7 µA
    • Off Mode (RAM Retention): 0.1 µA
  • Five Power-Saving Modes
  • Ultra-Fast Wake-Up From Standby Mode in Less Than 1 µs
  • 16-Bit RISC Architecture, 62.5-ns Instruction Cycle Time
  • Basic Clock Module Configurations
    • Internal Frequencies up to 16 MHz With Four Calibrated Frequency
    • Internal Very-Low-Power Low-Frequency (LF) Oscillator
    • 32-kHz Crystal
    • High-Frequency (HF) Crystal up to 16 MHz
    • External Digital Clock Source
    • External Resistor
  • Two 16-Bit Timer_A With Three Capture/Compare Registers
  • One 16-Bit Timer_B With Three Capture/Compare Registers
  • Up to 32 Touch-Sense-Enabled I/O Pins
  • Universal Serial Communication Interface (USCI)
    • Enhanced UART Supporting Auto Baudrate Detection (LIN)
    • IrDA Encoder and Decoder
    • Synchronous SPI
    • I2C™
  • On-Chip Comparator for Analog Signal Compare Function or Slope Analog-to-Digital (A/D) Conversion
  • 10-Bit 200-ksps Analog-to-Digital (A/D) Converter With Internal Reference, Sample-and-Hold, and Autoscan
  • Brownout Detector
  • Serial Onboard Programming, No External Programming Voltage Needed, Programmable Code Protection by Security Fuse
  • Bootstrap Loader
  • On-Chip Emulation Logic
  • Package Options
    • TSSOP: 38 Pin (DA)
    • QFN: 40 Pin (RHA)

Description

The Texas Instruments MSP430 family of ultra-low-power microcontrollers consists of several devices featuring different sets of peripherals targeted for various applications. The architecture, combined with five low-power modes, is optimized to achieve extended battery life in portable measurement applications. The device features a powerful 16-bit RISC CPU, 16-bit registers, and constant generators that contribute to maximum code efficiency. The digitally controlled oscillator (DCO) allows wake-up from low-power modes to active mode in less than 1 µs.

The MSP430G2x55 series are ultra-low-power mixed signal microcontrollers with built-in 16-bit timers, up to 32 I/O touch-sense-enabled pins, a versatile analog comparator, and built-in communication capability using the universal serial communication interface.

Typical applications include low-cost sensor systems that capture analog signals, convert them to digital values, and then process the data for display or for transmission to a host system.

The Texas Instruments MSP430 family of ultra-low-power microcontrollers consists of several devices featuring different sets of peripherals targeted for various applications. The architecture, combined with five low-power modes, is optimized to achieve extended battery life in portable measurement applications. The device features a powerful 16-bit RISC CPU, 16-bit registers, and constant generators that contribute to maximum code efficiency. The digitally controlled oscillator (DCO) allows wake-up from low-power modes to active mode in less than 1 µs.

The MSP430G2x55 series are ultra-low-power mixed signal microcontrollers with built-in 16-bit timers, up to 32 I/O touch-sense-enabled pins, a versatile analog comparator, and built-in communication capability using the universal serial communication interface.

Typical applications include low-cost sensor systems that capture analog signals, convert them to digital values, and then process the data for display or for transmission to a host system.