0
LP873220
  • LP873220
  • LP873220

LP873220

ACTIVE

Industrial dual 2-A buck converters & dual linear regulators for AM570x

Texas Instruments LP873220 Product Info

1 April 2026 1

Parameters

Processor supplier

Texas Instruments

Processor name

Sitara AM57x

Product type

Processor and FPGA

Regulated outputs (#)

4

Step-down DC/DC converter

2

Step-up DC/DC converter

0

LDO

2

Vin (min) (V)

2.8

Vin (max) (V)

5.5

Vout (min) (V)

-0.3

Vout (max) (V)

7

Iout (max) (A)

2

Configurability

Factory programmable, Software configurable

Features

Enable pin, I2C control, Power good, Power sequencing, Spread-Spectrum Clock (SSC) Generation, Thermal shutdown, UVLO adjustable

Rating

Automotive, Catalog

Operating temperature range (°C)

-40 to 125

Step-down DC/DC controller

0

Step-up DC/DC controller

0

Iq (typ) (mA)

0.009

Switching frequency (max) (kHz)

2200

Switching frequency (typ) (kHz)

2000

Package

VQFN (RHD)-28-25 mm² 5 x 5

Features

  • Device operating temperature range: –40°C to +125°C ambient temperature
  • Input voltage: 2.8 V to 5.5 V
  • Two high-efficiency step-down DC/DC converters:
    • Output voltage: 0.7 V to 3.36 V
    • Maximum output current 2 A
    • Programmable output-voltage slew rate from 0.5 mV/µs to 10 mV/µs
    • 2-MHz switching frequency
    • Spread-spectrum mode and phase interleaving for EMI reduction
  • Two linear regulators:
    • Input voltage: 2.5 V to 5.5 V
    • Output voltage: 0.8 V to 3.3 V
    • Maximum output current 300 mA
  • Configurable general-purpose output signals (GPO, GPO2)
  • Interrupt function with programmable masking
  • Programmable power-good signal (PGOOD)
  • Output short-circuit and overload protection
  • Overtemperature warning and protection
  • Overvoltage protection (OVP) and undervoltage lockout (UVLO)
  • 28-pin, 5-mm × 5-mm VQFN package with wettable flanks
  • Device operating temperature range: –40°C to +125°C ambient temperature
  • Input voltage: 2.8 V to 5.5 V
  • Two high-efficiency step-down DC/DC converters:
    • Output voltage: 0.7 V to 3.36 V
    • Maximum output current 2 A
    • Programmable output-voltage slew rate from 0.5 mV/µs to 10 mV/µs
    • 2-MHz switching frequency
    • Spread-spectrum mode and phase interleaving for EMI reduction
  • Two linear regulators:
    • Input voltage: 2.5 V to 5.5 V
    • Output voltage: 0.8 V to 3.3 V
    • Maximum output current 300 mA
  • Configurable general-purpose output signals (GPO, GPO2)
  • Interrupt function with programmable masking
  • Programmable power-good signal (PGOOD)
  • Output short-circuit and overload protection
  • Overtemperature warning and protection
  • Overvoltage protection (OVP) and undervoltage lockout (UVLO)
  • 28-pin, 5-mm × 5-mm VQFN package with wettable flanks

Description

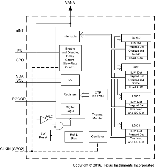
The LP873220 is designed to meet the power management requirements of the latest processors and platforms in industrial applications. The device has two step-down DC/DC converters, two linear regulators, and two general-purpose digital-output signals. The device is controlled by an I2C-compatible serial interface and by an enable signal.

The automatic PWM/PFM (AUTO mode) operation gives high efficiency over a wide output-current range. The LP873220 supports remote voltage sensing to compensate IR drop between the regulator output and the point-of-load (POL), thus improving the accuracy of the output voltage. In addition, the switching clock can be forced to PWM mode and also synchronized to an external clock to minimize the disturbances.

The LP873220 device supports load-current measurement without the addition of external current-sense resistors. The LP873220 device also supports programmable start-up and shutdown delays and sequences including GPO signals synchronized to the enable signal. A second GPO signal is available with pin multiplexing of CLKIN pin, if external clock is not needed. During start-up and voltage change, the device controls the output slew rate to minimize output voltage overshoot and the in-rush current.

The LP873220 is designed to meet the power management requirements of the latest processors and platforms in industrial applications. The device has two step-down DC/DC converters, two linear regulators, and two general-purpose digital-output signals. The device is controlled by an I2C-compatible serial interface and by an enable signal.

The automatic PWM/PFM (AUTO mode) operation gives high efficiency over a wide output-current range. The LP873220 supports remote voltage sensing to compensate IR drop between the regulator output and the point-of-load (POL), thus improving the accuracy of the output voltage. In addition, the switching clock can be forced to PWM mode and also synchronized to an external clock to minimize the disturbances.

The LP873220 device supports load-current measurement without the addition of external current-sense resistors. The LP873220 device also supports programmable start-up and shutdown delays and sequences including GPO signals synchronized to the enable signal. A second GPO signal is available with pin multiplexing of CLKIN pin, if external clock is not needed. During start-up and voltage change, the device controls the output slew rate to minimize output voltage overshoot and the in-rush current.

Subscribe to Welllinkchips !
Your Name
* Email
Submit a request