0
LM8333
  • LM8333
  • LM8333
  • LM8333

LM8333

ACTIVE

Mobile I/O Companion Supporting Key-Scan, I/O Expansion, PWM, and ACCESS.bus Host Interface

Texas Instruments LM8333 Product Info

1 April 2026 1

Parameters

Number of I/Os

4

Features

(x1) PWM, 72-input keypad scan, Reset pin

Supply voltage (min) (V)

2.25

Supply voltage (max) (V)

2.9

Addresses

1

Rating

Catalog

Frequency (max) (MHz)

0.4

Operating temperature range (°C)

-40 to 85

Package

CS-BGA (NYC)-49-16 mm² 4 x 4

Features

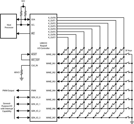
  • 8 × 8 Standard Keys
  • 8 Special Function Keys (SF Keys) Providing a Total of 72 Keys for the Maximum Keyboard Matrix
  • ACCESS.Bus (I2C-compatible) Communication Interface to the Host
  • Four General Purpose Host Programmable I/O Pins with Two Optional (Slow) External Interrupts
  • 15-byte FIFO Buffer to Store Key Pressed and Key Released Events
  • Error Control with Error Reports on (FIFO Overrun, Keypad Overrun, Invalid Command)
  • Host Programmable PWM
  • Host Programmable Active Time and Debounce Time

All trademarks are the property of their respective owners.

  • 8 × 8 Standard Keys
  • 8 Special Function Keys (SF Keys) Providing a Total of 72 Keys for the Maximum Keyboard Matrix
  • ACCESS.Bus (I2C-compatible) Communication Interface to the Host
  • Four General Purpose Host Programmable I/O Pins with Two Optional (Slow) External Interrupts
  • 15-byte FIFO Buffer to Store Key Pressed and Key Released Events
  • Error Control with Error Reports on (FIFO Overrun, Keypad Overrun, Invalid Command)
  • Host Programmable PWM
  • Host Programmable Active Time and Debounce Time

All trademarks are the property of their respective owners.

Description

The LM8333 Mobile I/O Companion offloads the burden of keyboard scanning from the host, while providing extremely low power consumption in both operational and standby modes. It supports keypad matrices up to 8 × 8 in size (plus another 8 special-function keys), for portable applications such as cellphones, PDAs, games, and other handheld applications.

Key press and release events are encoded into a byte format and loaded into a FIFO buffer for retrieval by the host processor. An interrupt output (IRQ) is used to signal events such as keypad activity, a state change on either of two interrupt-capable general-purpose I/O pins, or an error condition. Interrupt and error codes are available to the host by reading dedicated registers.

Four general-purpose I/O pins are available, two of which have interrupt capability. A pulse-width modulated output based on a host-programmable internal timer is also available, which can be used as a general-purpose output if the PWM function is not required.

To minimize power, the LM8333 automatically enters a low-power standby mode when there is no keypad, I/O, or host activity.

The device is packaged in a 32–pin WQFN and a
49-pin csBGA. Both are chip-scale packages.

The LM8333 Mobile I/O Companion offloads the burden of keyboard scanning from the host, while providing extremely low power consumption in both operational and standby modes. It supports keypad matrices up to 8 × 8 in size (plus another 8 special-function keys), for portable applications such as cellphones, PDAs, games, and other handheld applications.

Key press and release events are encoded into a byte format and loaded into a FIFO buffer for retrieval by the host processor. An interrupt output (IRQ) is used to signal events such as keypad activity, a state change on either of two interrupt-capable general-purpose I/O pins, or an error condition. Interrupt and error codes are available to the host by reading dedicated registers.

Four general-purpose I/O pins are available, two of which have interrupt capability. A pulse-width modulated output based on a host-programmable internal timer is also available, which can be used as a general-purpose output if the PWM function is not required.

To minimize power, the LM8333 automatically enters a low-power standby mode when there is no keypad, I/O, or host activity.

The device is packaged in a 32–pin WQFN and a
49-pin csBGA. Both are chip-scale packages.

Subscribe to Welllinkchips !
Your Name
* Email
Submit a request