0
DP83848VYB
  • DP83848VYB
  • DP83848VYB
  • DP83848VYB

DP83848VYB

ACTIVE

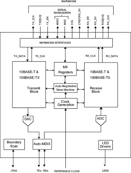
High-temperature, low-power 10/100-Mbps Ethernet PHY Transceiver with JTAG support Linux mainline status

Texas Instruments DP83848VYB Product Info

1 April 2026 0

Parameters

Datarate (Mbps)

10/100

Interface type

MII, RMII, SNI

Rating

Catalog

Number of ports

Single

Features

IEEE 802.3 autonegotiation, JTAG1149.1, Parallel detection

Supply voltage (V)

3.3

I/O supply voltage (typ) (V)

3.3

Operating temperature range (°C)

-40 to 105

Number of LEDs

3

ESD HBM (kV)

4

Package

HLQFP (PTB)-48-81 mm² 9 x 9

Features

  • Multiple Temperature Range from –40°C to 105°C
  • Low-Power 3.3-V, 0.18-µm CMOS Technology
  • Low-Power Consumption < 270 mW Typical
  • 3.3-V MAC Interface
  • Auto-MDIX for 10/100 Mb/s
  • Energy Detection Mode
  • 25-MHz Clock Output
  • SNI Interface (Configurable)
  • RMII Rev. 1.2 Interface (Configurable)
  • MII Serial Management Interface (MDC and MDIO)
  • IEEE 802.3 MII
  • IEEE 802.3 Auto-Negotiation and Parallel
    Detection
  • IEEE 802.3 ENDEC, 10BASE-T Transceivers and
    Filters
  • IEEE 802.3 PCS, 100BASE-TX Transceivers and
    Filters
  • IEEE 1149.1 JTAG
  • Integrated ANSI X3.263 Compliant TP-PMD
    Physical Sub-Layer with Adaptive Equalization and
    Baseline Wander Compensation
  • Error-Free Operation up to 150 Meters
  • Programmable LED Support for Link, 10/100 Mb/s
    Mode, Activity, Duplex and Collision Detect
  • Single Register Access for Complete PHY Status
  • 10/100 Mb/s Packet BIST (Built in Self Test)
  • Multiple Temperature Range from –40°C to 105°C
  • Low-Power 3.3-V, 0.18-µm CMOS Technology
  • Low-Power Consumption < 270 mW Typical
  • 3.3-V MAC Interface
  • Auto-MDIX for 10/100 Mb/s
  • Energy Detection Mode
  • 25-MHz Clock Output
  • SNI Interface (Configurable)
  • RMII Rev. 1.2 Interface (Configurable)
  • MII Serial Management Interface (MDC and MDIO)
  • IEEE 802.3 MII
  • IEEE 802.3 Auto-Negotiation and Parallel
    Detection
  • IEEE 802.3 ENDEC, 10BASE-T Transceivers and
    Filters
  • IEEE 802.3 PCS, 100BASE-TX Transceivers and
    Filters
  • IEEE 1149.1 JTAG
  • Integrated ANSI X3.263 Compliant TP-PMD
    Physical Sub-Layer with Adaptive Equalization and
    Baseline Wander Compensation
  • Error-Free Operation up to 150 Meters
  • Programmable LED Support for Link, 10/100 Mb/s
    Mode, Activity, Duplex and Collision Detect
  • Single Register Access for Complete PHY Status
  • 10/100 Mb/s Packet BIST (Built in Self Test)

Description

The number of applications requiring Ethernet connectivity continues to increase, driving Ethernet enabled devices into harsher environments.

The DP83848C/I/VYB/YB was designed to meet the challenge of these new applications with an extended temperature performance that goes beyond the typical Industrial temperature range. The DP83848C/I/VYB/YB is a highly reliable, feature rich, robust device which meets IEEE 802.3 standards over multiple temperature ranges from commercial to extreme temperatures. This device is ideally suited for harsh environments such as wireless remote base stations, automotive/transportation, and industrial control applications.

It offers enhanced ESD protection and the choice of an MII or RMII interface for maximum flexibility in MPU selection; all in a 48 pin package.

The DP83848VYB extends the leadership position of the PHYTER™ family of devices with a wide operating temperature range. The TI line of PHYTER transceivers builds on decades of Ethernet expertise to offer the high performance and flexibility that allows the end user an easy implementation tailored to meet these application needs.

The number of applications requiring Ethernet connectivity continues to increase, driving Ethernet enabled devices into harsher environments.

The DP83848C/I/VYB/YB was designed to meet the challenge of these new applications with an extended temperature performance that goes beyond the typical Industrial temperature range. The DP83848C/I/VYB/YB is a highly reliable, feature rich, robust device which meets IEEE 802.3 standards over multiple temperature ranges from commercial to extreme temperatures. This device is ideally suited for harsh environments such as wireless remote base stations, automotive/transportation, and industrial control applications.

It offers enhanced ESD protection and the choice of an MII or RMII interface for maximum flexibility in MPU selection; all in a 48 pin package.

The DP83848VYB extends the leadership position of the PHYTER™ family of devices with a wide operating temperature range. The TI line of PHYTER transceivers builds on decades of Ethernet expertise to offer the high performance and flexibility that allows the end user an easy implementation tailored to meet these application needs.

Subscribe to Welllinkchips !
Your Name
* Email
Submit a request