0
ADS62P48
  • ADS62P48
  • ADS62P48

ADS62P48

ACTIVE

Dual-Channel, 14-Bit, 210-MSPS Analog-to-Digital Converter (ADC)

Texas Instruments ADS62P48 Product Info

1 April 2026 0

Parameters

Sample rate (max) (Msps)

210

Resolution (Bits)

14

Number of input channels

2

Interface type

DDR LVDS, Parallel CMOS

Analog input BW (MHz)

700

Features

High Performance

Rating

Catalog

Peak-to-peak input voltage range (V)

2

Power consumption (typ) (mW)

1140

Architecture

Pipeline

SNR (dB)

73.4

ENOB (Bits)

11.4

SFDR (dB)

98

Operating temperature range (°C)

-40 to 85

Input buffer

No

Package

VQFN (RGC)-64-81 mm² 9 x 9

Features

  • Maximum Sample Rate: 250 MSPS
  • 14-Bit Resolution – ADS62P49/ADS62P48
  • 12-Bit Resolution – ADS62P29/ADS62P28
  • Total Power: 1.25 W at 250 MSPS
  • Double Data Rate (DDR) LVDS and Parallel CMOS Output Options
  • Programmable Gain up to 6dB for SNR/SFDR Trade-Off
  • DC Offset Correction
  • 90dB Cross-Talk
  • Supports Input Clock Amplitude Down to 400 mVPP Differential
  • Internal and External Reference Support
  • 64-QFN Package (9 mm × 9 mm)

  • Maximum Sample Rate: 250 MSPS
  • 14-Bit Resolution – ADS62P49/ADS62P48
  • 12-Bit Resolution – ADS62P29/ADS62P28
  • Total Power: 1.25 W at 250 MSPS
  • Double Data Rate (DDR) LVDS and Parallel CMOS Output Options
  • Programmable Gain up to 6dB for SNR/SFDR Trade-Off
  • DC Offset Correction
  • 90dB Cross-Talk
  • Supports Input Clock Amplitude Down to 400 mVPP Differential
  • Internal and External Reference Support
  • 64-QFN Package (9 mm × 9 mm)

Description

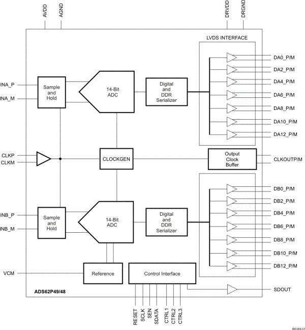
The ADS62Px9/x8 is a family of dual channel 14-bit and 12-bit A/D converters with sampling rates up to 250 MSPS. It combines high dynamic performance and low power consumption in a compact 64 QFN package. This makes it well-suited for multi-carrier, wide band-width communications applications.

The ADS62Px9/x8 has gain options that can be used to improve SFDR performance at lower full-scale input ranges. It includes a dc offset correction loop that can be used to cancel the ADC offset. Both DDR LVDS (Double Data Rate) and parallel CMOS digital output interfaces are available.

It includes internal references while the traditional reference pins and associated decoupling capacitors have been eliminated. Nevertheless, the device can also be driven with an external reference. The device is specified over the industrial temperature range (–40°C to 85°C).

The ADS62Px9/x8 is a family of dual channel 14-bit and 12-bit A/D converters with sampling rates up to 250 MSPS. It combines high dynamic performance and low power consumption in a compact 64 QFN package. This makes it well-suited for multi-carrier, wide band-width communications applications.

The ADS62Px9/x8 has gain options that can be used to improve SFDR performance at lower full-scale input ranges. It includes a dc offset correction loop that can be used to cancel the ADC offset. Both DDR LVDS (Double Data Rate) and parallel CMOS digital output interfaces are available.

It includes internal references while the traditional reference pins and associated decoupling capacitors have been eliminated. Nevertheless, the device can also be driven with an external reference. The device is specified over the industrial temperature range (–40°C to 85°C).