0
MX7582
  • MX7582

MX7582

PRODUCTION

Calibrated 4-Channel 12-Bit ADC

Analog Devices MX7582 Product Info

10 February 2026 7

Features

  • True 12-Bit Performance without Adjustments
  • Minimum External Components
  • Four High-Impedance Input Channels
  • Zero Error Typically <100μV
  • Standard Microprocessor Interface
  • 28-Pin DIP, Wide SO, and PLCC Packages

Part details & applications

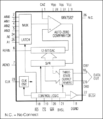
The MX7582 is a complete, calibrated 4-channel 12-bit A/D converter which maintains true 12-bit performance over the full operating temperature range without external adjustments. In addition, each 100μs conversion includes an auto-zero cycle which reduces zero errors to typically below 100μV.

CHIP SELECT, READ, and WRITE inputs are included for easy microprocessor interfacing without additional logic. 2-byte, 12-bit conversion data is provided over an 8-bit three-state output bus. Either byte may be read first. Two address bits control the 4-channel input multiplexer.

The MX7582's analog input range is 0V to +5V when using a +5V reference. All four high-impedance input channels have excellent matching (typically 0.05LSB).

APPLICATIONS

  • Digital-Signal Processing
  • Audio and Telecom Processing
  • High-Accuracy Process Control
  • High-Speed Data Acquisition

Subscribe to Welllinkchips !
Your Name
* Email
Submit a request