0
MAX4888
  • MAX4888

MAX4888

PRODUCTION

2.5Gbps PCI Express Passive Switches High-Speed PCI Express Passive Switches Enable Gen I Switching

Analog Devices MAX4888 Product Info

10 February 2026 7

Features

  • Single 1.65V to 3.6V Power-Supply Voltage
  • Low Same-Pair Skew of 7ps
  • Low 120µA (Max) Quiescent Current
  • Supports PCIe Gen I Data Rates
  • Flow-Through Pin Configuration for Ease of Layout
  • Industry-Compatible Pinout
  • Lead-Free Packaging

Part details & applications

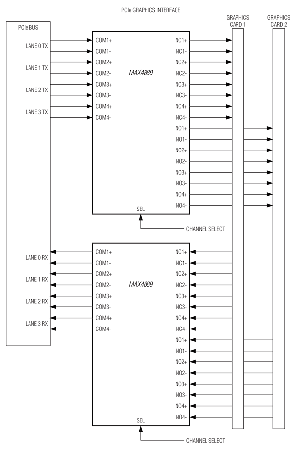
The MAX4888/MAX4889 high-speed passive switches route PCI Express® (PCIe) data between two possible destinations. The MAX4888 is a quad single-pole/double-throw (4 x SPDT) switch ideally suited for switching two half lanes of PCIe data between two destinations. The MAX4889 is an octal single-pole/double-throw (8 x SPDT) switch ideal for switching four half lanes of PCIe data between four destinations. The MAX4888/MAX4889 feature a single digital control input (SEL) to switch signal paths.

The MAX4888/MAX4889 are fully specified to operate from a single 3.0V to 3.6V power supply and also operate down to +1.65V. The MAX4888 is available in a 3.5mm x 5.5mm, 28-pin TQFN package. The MAX4889 is available in a 3.5mm x 9.0mm, 42-pin TQFN package. Both devices operate over the -40°C to +85°C temperature range.

Applications

  • Desktop Computers
  • Laptops
  • Servers/Storage Area Networks

Subscribe to Welllinkchips !
Your Name
* Email
Submit a request