0
MAX11209
  • MAX11209

MAX11209

PRODUCTION

18-Bit, Ultra-Low Power, Delta-Sigma ADCs with Programmable Gain and GPIO Pin-Compatible Versions of the 24-/20-/16-Bit Family

Analog Devices MAX11209 Product Info

10 February 2026 9

Features

  • 18-Bit Noise-Free Resolution
  • 570nVRMS Noise at 10sps, ±3.6VFS Input
  • 3ppm INL (typ), 15ppm (max)
  • No Missing Codes
  • Ultra-Low Power Dissipation
    • Operating-Mode Current Drain < 300µA (max)
    • Sleep-Mode Current Drain < 0.4µA
  • Programmable Gain (1 to 128) (MAX11209)
  • Four SPI-Controlled GPIOs for External Mux Control
  • 2.7V to 3.6V Analog Supply Voltage Range
  • 1.7V to 3.6V Digital and I/O Supply Voltage Range
  • Fully Differential Signal and Reference Inputs
  • High-Impedance Inputs
    • Optional Input Buffers on Both Signal and Reference Inputs
  • > 100dB (min) 50Hz/60Hz Rejection
  • SPI, QSPI™, MICROWIRE®-Compatible Serial Interface
  • On-Demand Offset and Gain Self-Calibration and System Calibration
  • User-Programmable Offset and Gain Registers
  • -40°C to +85°C Operating Temperature Range
  • ±2kV ESD Protection
  • Lead(Pb)-Free and RoHS-Compliant QSOP Package

Part details & applications

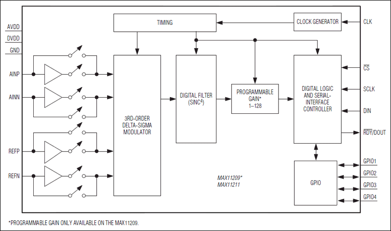
The MAX11209/MAX11211 are ultra-low-power (< 300µA active current), high-resolution, serial-output ADCs. These devices provide the highest resolution per unit power in the industry, and are optimized for applications that require very high dynamic range with low power, such as sensors on a 4mA to 20mA industrial control loop. Optional input buffers provide isolation of the signal inputs from the switched capacitor sampling network allowing these converters to be used with high-impedance sources without compromising available dynamic range or linearity. The devices provide a high-accuracy internal oscillator that requires no external components. When used with the specified data rates, the internal digital filter provides more than 100dB rejection of 50Hz or 60Hz line noise. The devices are configurable using the SPI interface and include four GPIOs that can be used for external mux control. The MAX11209 includes digital programmable gain of 1 to 128.
The MAX11209/MAX11211 operate over the -40°C to +85°C temperature range, and are available in a 16-pin QSOP package.

Applications

  • Battery Applications
  • Portable Instrumentation
  • Sensor Measurement (Temperature and Pressure)
  • Weigh Scales

Subscribe to Welllinkchips !
Your Name
* Email
Submit a request