0
LTC2201
  • LTC2201
  • LTC2201
  • LTC2201

LTC2201

PRODUCTION

16-Bit, 20Msps ADC

Analog Devices LTC2201 Product Info

10 February 2026 9

Features

  • Sample Rate: 20Msps
  • 81.6dB SNR and 100dB SFDR (2.5V Range)
  • 90dB SFDR at 70MHz (1.667VP-P Input Range)
  • PGA Front End (2.5VP-P or 1.667VP-P Input Range)
  • 380MHz Full Power Bandwidth S/H
  • Optional Internal Dither
  • Optional Data Output Randomizer
  • Single 3.3V Supply
  • Power Dissipation: 211mW
  • Clock Duty Cycle Stabilizer
  • Out-of-Range Indicator
  • Pin Compatible Family
    • 25Msps: LTC2203 (16-Bit)
    • 10Msps: LTC2202 (16-Bit)
  • 48-Pin (7mm × 7mm) QFN Package

Part details & applications

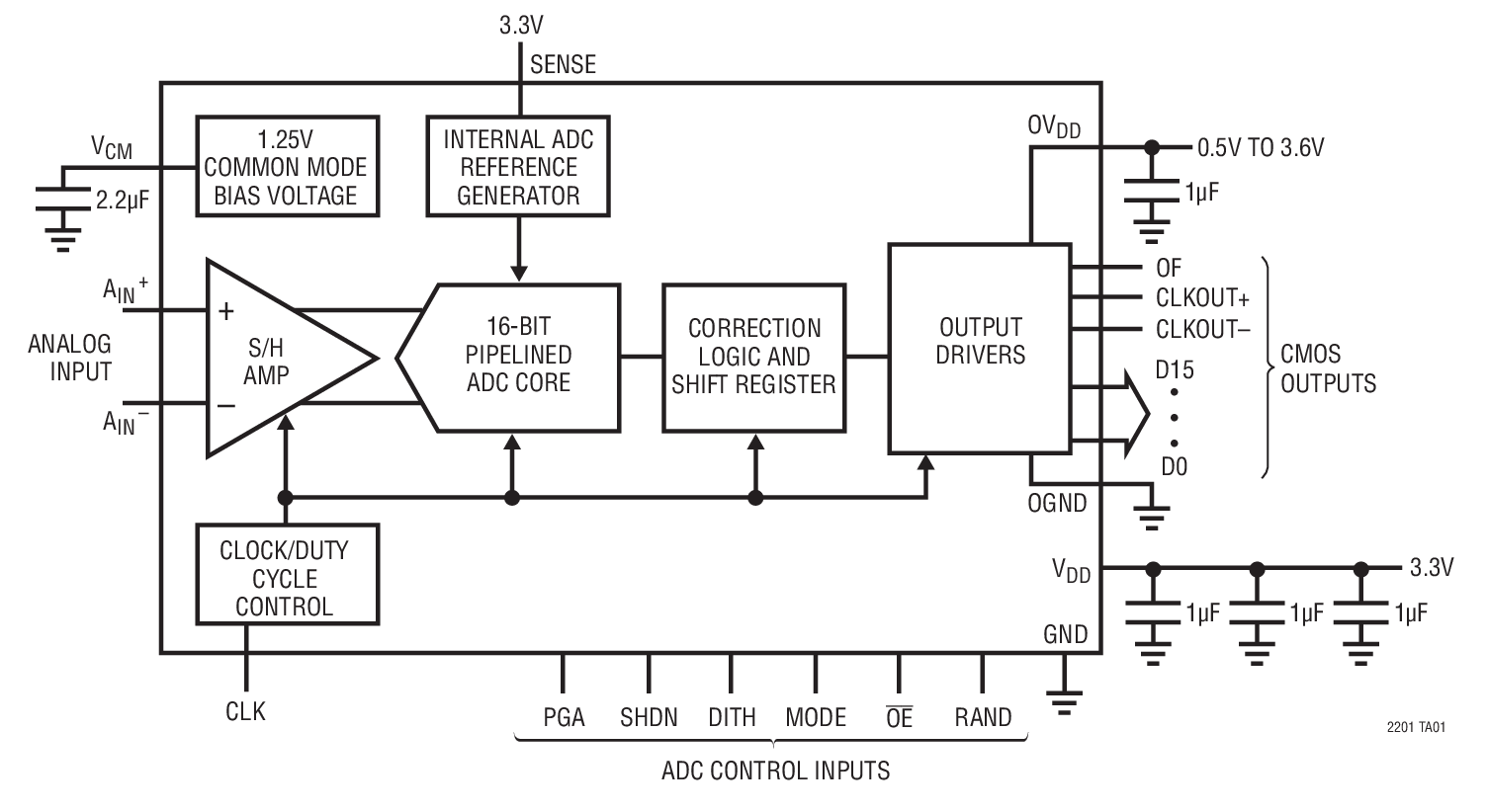
The LTC2201 is a 20Msps, sampling 16-bit A/D converter designed for digitizing high frequency, wide dynamic range signals with input frequencies up to 380MHz. The input range of the ADC can be optimized with the PGA front end.

The LTC2201 is perfect for demanding app lications, with AC performance that includes 81.6dB SNR and 100dB spurious free dynamic range (SFDR). Maximum DC specs include ±5LSB INL, ±1LSB DNL (no missing codes).

A separate output power supply allows the CMOS output swing to range from 0.5V to 3.6V.

A single-ended CLK input controls converter operation. An optional clock duty cycle stabilizer allows high performance at full speed with a wide range of clock duty cycles.

Applications

  • Telecommunications
  • Receivers
  • Cellular Base Stations
  • Spectrum Analysis
  • Imaging Systems
  • ATE

Subscribe to Welllinkchips !
Your Name
* Email
Submit a request