0
LTC2153-14
  • LTC2153-14
  • LTC2153-14
  • LTC2153-14

LTC2153-14

NOT RECOMMENDED FOR NEW DESIGNS

14-Bit 310Msps ADC

Analog Devices LTC2153-14 Product Info

10 February 2026 5

Features

  • 68.8dBFS SNR
  • 88dB SFDR
  • Low Power: 401mW Total
  • Single 1.8V Supply
  • DDR LVDS Outputs
  • Easy-to-Drive 1.32VP-P Input Range
  • 1.25GHz Full Power Bandwidth S/H
  • Optional Clock Duty Cycle Stabilizer
  • Low Power Sleep and Nap Modes
  • Serial SPI Port for Configuration
  • Pin-Compatible 12-Bit Version
  • 40-Lead (6mm × 6mm) QFN Package

Part details & applications

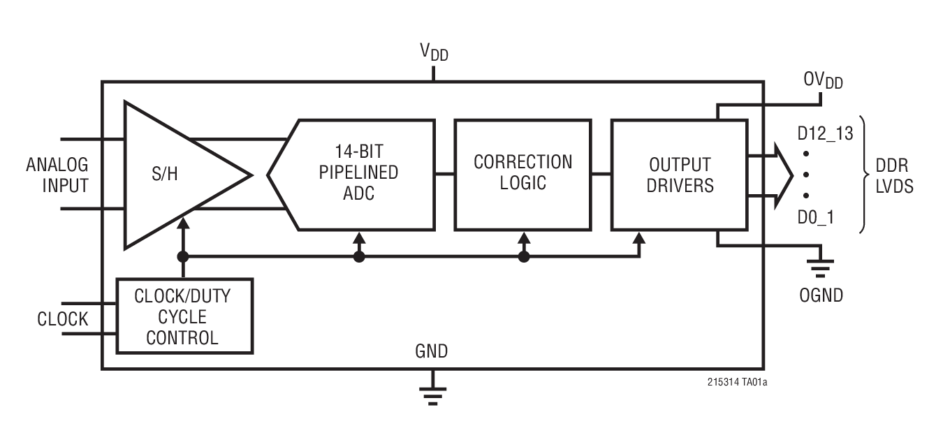
The LTC2153-14 is a 310Msps 14-bit A/D converter designed for digitizing high frequency, wide dynamic range signals. It is perfect for demanding communications applications with AC performance that includes 68.8dB SNR and 88dB spurious free dynamic range (SFDR). The 1.25GHz input bandwidth allows the ADC to undersample high frequencies with good performance. The latency is only five clock cycles.

DC specs include ±1.2LSB INL (typ), ±0.35LSB DNL (typ) and no missing codes over temperature. The transition noise is 2.11LSBRMS.

The digital outputs are double data rate (DDR) LVDS.

The ENC+ and ENC inputs can be driven differentially with a sine wave, PECL, LVDS, TTL, or CMOS inputs. An optional clock duty cycle stabilizer allows high performance at full speed for a wide range of clock duty cycles.

Bits
LTC2153-12 12
LTC2153-14 14

Applications

  • Communications
  • Cellular Basestations
  • Software Defined Radios
  • Medical Imaging
  • High Definition Video