0
LTC1669
  • LTC1669
  • LTC1669
  • LTC1669
  • LTC1669

LTC1669

PRODUCTION

10-Bit Rail-to-Rail Micropower DAC with I2C Interface

Analog Devices LTC1669 Product Info

10 February 2026 6

Features

  • Micropower 10-Bit DAC in SOT-23
  • Low Operating Current: 60µA
  • Ultralow Power Shutdown Mode: 12µA
  • 2-Wire Serial Interface Compatible with I2C™
  • Selectable Internal Reference or Ratiometric to VCC
  • Maximum DNL Error: 0.75LSB
  • 8 User Selectable Addresses (MSOP Package)
  • Single 2.7V to 5.5V Operation
  • Buffered True Rail-to-Rail Voltage Output
  • Power-On Reset
  • 1.5V VIL and 2.1V VIH for SDA and SCL
  • Small 5-Lead SOT-23 and 8-Lead MSOP Packages

Part details & applications

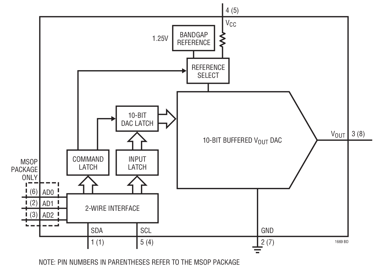
The LTC1669 is a 10-bit voltage output DAC with true buffered rail-to-rail output voltage capability. It operates from a single supply with a range of 2.7V to 5.5V. The reference for the DAC is selectable between the supply voltage or an internal bandgap reference. Selecting the internal bandgap reference will set the full-scale output voltage range to 2.5V. Selecting the supply as the reference sets the output voltage range to the supply voltage.

The part features a simple 2-wire serial interface compatible with I2C that allows communication between many devices. The internal data registers are double buffered to allow for simultaneous update of several devices at once. The DAC can be put in low current power-down mode for use in power conscious systems.

Power-on reset ensures the DAC output is at 0V when power is initially applied, and all internal registers are cleared. The LTC1669 is pin-for-pin compatible with the LTC1663.

For SMBus-compatible designs, please refer to the LTC1663.

Applications

  • Digital Calibration
  • Offset/Gain Adjustment
  • Industrial Process Control
  • Automatic Test Equipment
  • Arbitrary Function Generators
  • Battery-Powered Data Conversion Products

Subscribe to Welllinkchips !
Your Name
* Email
Submit a request