0
DS1813
  • DS1813

DS1813

PRODUCTION

5V EconoReset with Pushbutton

Analog Devices DS1813 Product Info

10 February 2026 8

Features

  • Voltage monitor for power-fail detection
  • Monitors pushbutton for external over-ride
  • Active low reset output
  • 150ms pause for stabilization
  • Efficient open-drain output with internal 5.5kΩ pull-up resistor
  • Maximum quiescent current of 40µA
  • Operating ranges:
    • 5V with 5%, 10% or 15% tolerance
    • -40°C to +85°C

Part details & applications

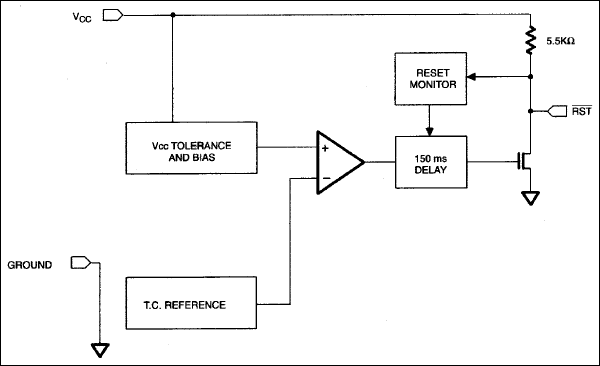
The DS1813 (5V) and DS1818 (3.3V) EconoResets are simple three-pin voltage monitors and power-on resets that hold reset for 150ms for stabilization after power returns to tolerance. The voltage monitor uses precision temperature reference and comparator circuits that detect out-of-tolerance conditions and generate an active low reset.

The DS1813 (like the DS1811) has an open-drain output with an internal 5.5kΩ pull-up resistor for use in a wired-AND circuit. The DS1813 also monitors a pushbutton on the reset output, generating a reset when the pushbutton is released.

EconoResets replace discrete components and save space, particularly in the new SOT-23 package. They can benefit any system that requires reliable processor operation, especially consumer products like printers, HVAC, energy management, cellular telephones, PDAs, and set-top boxes.

Subscribe to Welllinkchips !
Your Name
* Email
Submit a request