0
DAC8413
  • DAC8413
  • DAC8413
  • DAC8413
  • DAC8413

DAC8413

PRODUCTION

Quad, 12-Bit DAC Voltage Output with Readback

Analog Devices DAC8413 Product Info

10 February 2026 6

Features

  • +5 V to ±15 V operation
  • Unipolar or bipolar operation
  • True voltage output
  • Double-buffered inputs
  • Reset to minimum (DAC8413) or center scale (DAC8412)
  • Fast bus access time
  • Readback

Part details & applications

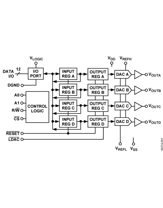
The DAC8412 / DAC8413 are quad, 12-bit voltage output DACs with readback capability. Built using a complementary BiCMOS process, these monolithic DACs offer the user very high package density.

Output voltage swing is set by the two reference inputs VREFH and VREFL. By setting the VREFL input to 0 V and VREFH to a positive voltage, the DAC provides a unipolar positive output range. A similar configuration with VREFH at 0 V and VREFL at a negative voltage provides a unipolar negative output range. Bipolar outputs are configured by connecting both VREFH and VREFL to nonzero voltages. This method of setting output voltage range has advantages over other bipolar offsetting methods because it is not dependent on internal and external resistors with different temperature coefficients.

Digital controls allow the user to load or read back data from any DAC, load any DAC, and transfer data to all DACs at one time.

An active low RESET loads all DAC output registers to midscale for the DAC8412 and zero scale for the DAC8413.

The DAC8412 / DAC8413 are available in 28-lead plastic DIP, 28-lead ceramic DIP, 28-lead PLCC, and 28-lead LCC packages.

They can be operated from a wide variety of supply and reference voltages with supplies ranging from single +5 V to ±15 V, and references from +2.5 V to ±10 V. Power dissipation is less than 330 mW with ±15 V supplies and only 60 mW with a +5 V supply.

For MIL-STD-883 applications, contact your local Analog Devices, Inc. sales office for the DAC8412/DAC8413/883 data sheet, which specifies operation over the −55°C to +125°C temperature range. All 883 parts are also available on Standard Military Drawings 5962-91 76401MXA through 76404M3A.

APPLICATIONS