0
ADXL335
  • ADXL335

ADXL335

PRODUCTION

Small, Low Power, 3-Axis ±3 g Accelerometer

Analog Devices ADXL335 Product Info

10 February 2026 8

Features

  • Small, low-profile package
  • 4 mm × 4 mm × 1.45 mm LFCSP
  • Low power - 350 μA (typical)
  • Single-supply operation
    1.8 V to 3.6 V
  • 3-axis sensing
  • 10,000 g shock survival
  • Excellent temperature stability
  • BW adjustment with a single capacitor per axis
  • RoHS/WEEE lead-free compliant

Part details & applications

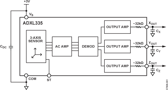
The ADXL335 is a small, thin, low power, complete 3-axis accelerometer with signal conditioned voltage outputs. The product measures acceleration with a minimum full-scale range of ±3 g. It can measure the static acceleration of gravity in tiltsensing applications, as well as dynamic acceleration resulting from motion, shock, or vibration.

The user selects the bandwidth of the accelerometer using the CX, CY, and CZ capacitors at the XOUT, YOUT, and ZOUT pins. Bandwidths can be selected to suit the application, with a range of 0.5 Hz to 1600 Hz for X and Y axes, and a range of 0.5 Hz to 550 Hz for the Z axis.

The ADXL335 is available in a small, low profile, 4 mm × 4 mm × 1.45 mm, 16-lead, plastic lead frame chip scale package (LFCSP_LQ).

APPLICATIONS

  • Cost sensitive, low power, motion- and tilt-sensing applications
  • Mobile devices
  • Gaming systems
  • Disk drive protection
  • Image stabilization
  • Sports and health devices

Subscribe to Welllinkchips !
Your Name
* Email
Submit a request