0
ADSP-21992
  • ADSP-21992

ADSP-21992

PRODUCTION

High-Performance Mixed Signal DSP, 160 MHz, 32K Program, 16K Data Memory RAM

Analog Devices ADSP-21992 Product Info

10 February 2026 8

Features

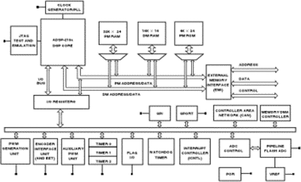
  • 160 MHz, ADSP-219x DSP Core
  • 8-Channel, 14-Bit, 20 MSPS ADC with On-Chip Voltage Reference
  • Integrated Controller Area Network (CAN) Interface
  • External Memory Interface (to 1 MWord)
  • Three-Phase PWM Generation Unit, with additional Dual Auxiliary PWM Outputs
  • 32K Program, 16K Data Memory RAM
  • Three-Phase PWM Generation Unit
  • Incremental Encoder Interface Unit
  • Three 32-Bit, General Purpose Timers
  • 16-Bit General Purpose Flag I/O Port
  • Synchronous Serial (SPORT) & SPI Communications Port
  • CROSSCORE tool support

Part details & applications

The ADSP-21992 further extends the capabilities of the ADSP-2199x mixed-signal DSP family, by offering 32K words of program memory and 16K words of data memory RAM. In addition, the ADSP-21992 provides an on-chip CAN communications port that provides full CAN 2.0B support, with 16 configurable mailboxes and individual acceptance filters. The integration of the CAN interface enables single chip solutions that implement the embedded control and signal processing as well as the field bus communications interface.

Subscribe to Welllinkchips !
Your Name
* Email
Submit a request