0
ADM1063
  • ADM1063
  • ADM1063

ADM1063

PRODUCTION

Multisupply Supervisor/Sequencer with ADC and Temperature Monitoring

Analog Devices ADM1063 Product Info

10 February 2026 7

Features

  • Complete supervisory and sequencing solution for up to 10 supplies
  • 10 supply fault detectors enable supervision of supplies to
    • <0.5% accuracy at all voltages at 25°C
    • <1.0% accuracy across all voltages and temperatures
  • 5 selectable input attenuators allow supervision of supplies to
    • 14.4 V on VH
    • 6 V on VP1 to VP4 (VPx)
  • See data sheet for additional features

ADM1063-EP supports defense and aerospace applications (AQEC standard)

Part details & applications

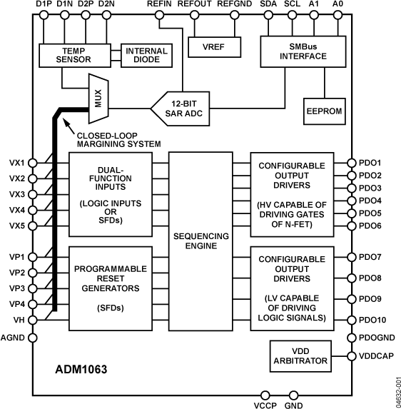
The ADM1063 is a configurable supervisory/sequencing device that offers a single-chip solution for supply monitoring and sequencing in multiple supply systems. In addition to these functions, the ADM1063 integrates a 12-bit ADC that can be used to accurately read back up to 12 separate voltages.

The device also provides up to 10 programmable inputs for monitoring under, over, or out-of-window faults on up to 10 supplies. In addition, 10 programmable outputs can be used as logic enables. Six of these programmable outputs can provide up to a 12 V output for driving the gate of an n-FET that can be placed in the path of a supply.

Applications

  • Central office systems
  • Servers/routers
  • Multivoltage system line cards
  • DSP/FPGA supply sequencing
  • In-circuit testing of margined supplies
  • Subscribe to Welllinkchips !
    Your Name
    * Email
    Submit a request