0
ADF5901
  • ADF5901
  • ADF5901

ADF5901

RECOMMENDED FOR NEW DESIGNS

24 GHz VCO and PGA with 2-Channel PA Output

Analog Devices ADF5901 Product Info

10 February 2026 6

Features

  • 24 GHz to 24.25 GHz voltage controlled oscillator (VCO)
  • 2-channel 24 GHz power amplifier (PA) with 8 dBm output
  • Single-ended outputs
  • 2-channel muxed outputs with mute function
  • Programmable output power
  • N divider output (frequency discriminator)
  • 24 GHz local oscillator (LO) output buffer
  • 250 MHz signal bandwidth
  • Power control detector
  • Auxiliary 8-bit ADC
  • ±5°C temperature sensor
  • 4-wire serial peripheral interface (SPI)
  • Electrostatic discharge (ESD) performance
    • Human body model (HBM): 2000 V
    • Charged device model (CDM): 250 V
  • Qualified for automotive applications

Part details & applications

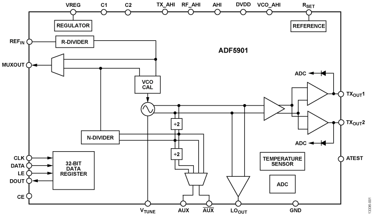
The ADF5901 is a 24 GHz Tx monolithic microwave integrated circuit (MMIC) with an on-chip, 24 GHz VCO with PGA and dual Tx channels for radar systems. The on-chip, 24 GHz VCO generates the 24 GHz signal for the two Tx channels and the LO output. Each Tx channel contains a power control circuit. There is also an on-chip temperature sensor.

Control of all the on-chip registers is through a simple 4-wire interface.

The ADF5901 comes in a compact 32-lead, 5 mm × 5 mm LFCSP package.

Applications

  • Automotive radars
  • Industrial radars
  • Microwave radar sensors
  • Industrial sensors
    • Precision instrumentation
    • Tank level sensors
    • Smart sensors
      • Door opening
      • Energy saving
  • Commercial sensors: object detection and tracking
    • Cars, boats, aircraft, and UAVs (drones): collision avoidance
    • Intelligent transportation systems: intelligent traffic monitoring and control
    • Surveillance and security

Subscribe to Welllinkchips !
Your Name
* Email
Submit a request