0
ADF4208
  • ADF4208
  • ADF4208

ADF4208

PRODUCTION

Dual, Integer-N 1.1 GH z / 2.0 GH z PLL

Analog Devices ADF4208 Product Info

10 February 2026 7

Features

  • 2.0 GHz/1.1 GHz
  • 2.7 V to 5.5 V power supply
  • Selectable charge pump supply (VP) allows extended tuning voltage in 3 V systems
  • Selectable charge pump currents
  • On-chip oscillator circuit
  • Selectable dual modulus prescaler
    • RF2: 32/33 or 64/65
    • RF1: 32/33 or 64/65
  • 3-wire serial interface
  • Power-down mode

Part details & applications

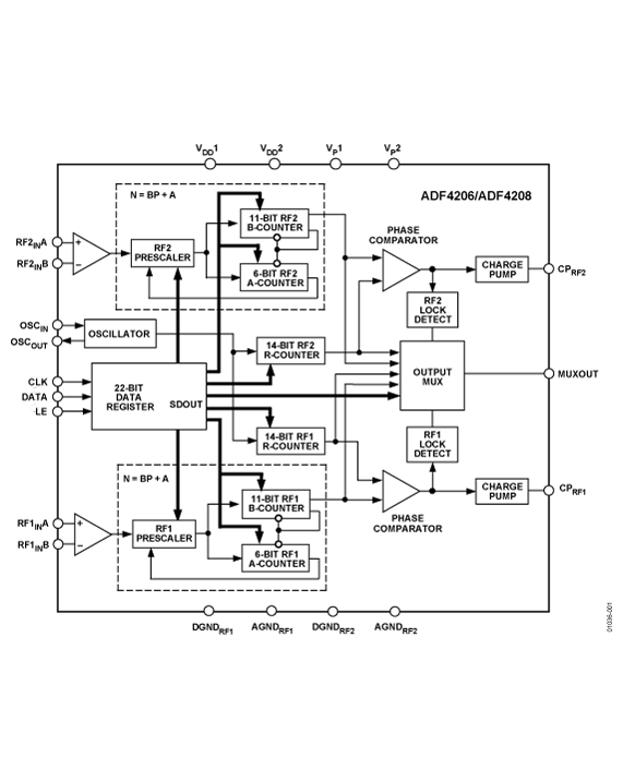
The ADF420x family of dual frequency synthesizers are used to implement local oscillators in the upconversion and downconversion sections of wireless receivers and transmitters. Each synthesizer consists of a low noise, digital, phase frequency detector (PFD); a precision charge pump; a programmable reference divider; programmable A and B counters; and a dual modulus prescaler (P/P + 1). The A (6-bit) and B (11-bit) counters, in conjunction with the dual modulus prescaler (P/P + 1), implement an N divider (N = BP + A). In addition, the 14-bit reference counter (R counter) allows selectable REFIN frequencies at the PFD input. The on-chip oscillator circuitry allows the reference input to be derived from crystal oscillators.

A complete phase-locked loop (PLL) can be implemented if the synthesizers are used with an external loop filter and voltage controlled oscillators (VCOs).

Control of all the on-chip registers is via a simple 3-wire interface. The devices operate with a power supply ranging from 2.7 V to 5.5 V and can be powered down when not in use.

Applications

  • Wireless handsets (GSM, PCS, DCS, CDMA, WCDMA)
  • Base stations for wireless radio (GSM, PCS, DCS, CDMA, WCDMA)
  • Wireless LANS Communications test equipment
  • CATV equipment

Subscribe to Welllinkchips !
Your Name
* Email
Submit a request