0
ADF4001
  • ADF4001
  • ADF4001

ADF4001

PRODUCTION

200 MH z Clock Generator PLL

Analog Devices ADF4001 Product Info

10 February 2026 6

Features

  • 200 MHz Bandwidth
  • 2.7 V to 5.5 V Power Supply
  • Programmable Charge Pump Currents
  • 3-Wire Serial Interface
  • Hardware and Software Power-Down Mode
  • Analog and Digital Lock Detect

Part details & applications

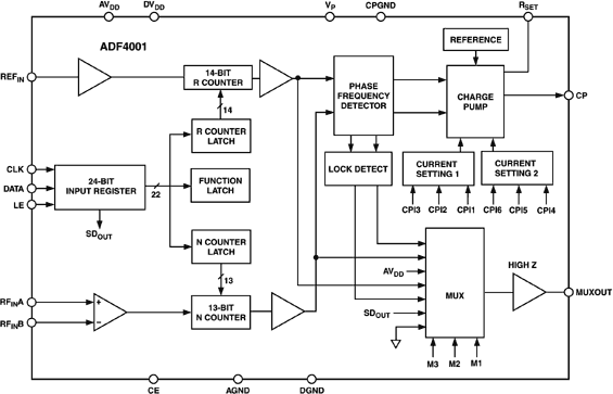
The ADF4001 frequency synthesizer can be used to implement clock sources for PLLs that require very low noise, stable reference signals. It consists of a low-noise digital PFD (Phase Frequency Detector), a precision charge pump, a programmable reference divider, and a programmable 13-bit N counter. In addition, the 14-bit reference counter (R Counter), allows selectable REFIN frequencies at the PFD input. A complete PLL (Phase-Locked Loop) can be implemented if the synthesizer is used with an external loop filter and VCO (Voltage Controlled Oscillator) or VCXO (Voltage Controlled Crystal Oscillator). The N min value of 1 allows flexibility in clock generation. 

Subscribe to Welllinkchips !
Your Name
* Email
Submit a request