0
ADDI7004
  • ADDI7004

ADDI7004

NOT RECOMMENDED FOR NEW DESIGNS

Quad-Channel, HD Image Signal Processor with Precision Timing Core

Analog Devices ADDI7004 Product Info

10 February 2026 10

Features

  • Support for CCD and CMOS image sensors
  • 4 AFE channels
  • 1.8 V analog and digital core supply voltage
  • Differential analog inputs
  • CDS or SHA configuration (CDS bypass) with −3 dB, 0 dB, +3 dB, and +6 dB gain
  • Serial data output with reduced range LVDS outputs
  • 6 dB to 42 dB, 10-bit variable gain amplifier (VGA)
  • 14-bit, 72 MHz analog-to-digital converter (ADC)
  • Black level clamp with variable level control
  • Precision Timing core with 220 ps resolution @ 72 MHz

Part details & applications

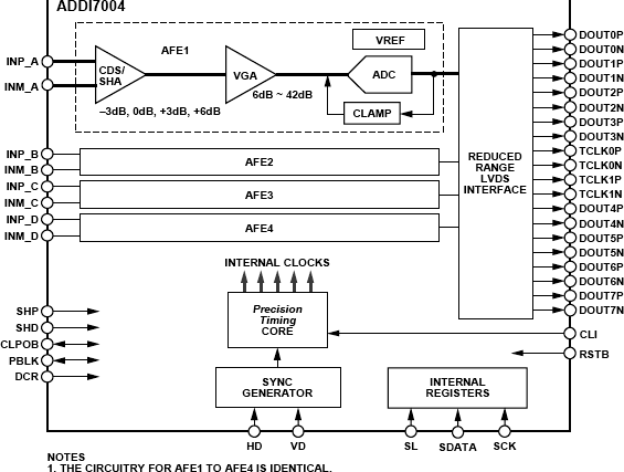
The ADDI7004 is a highly integrated, quad-channel, HD image signal processor for high speed imaging applications. Each channel is specified at pixel rates of up to 72 MHz and consists of a complete analog front end (AFE) with ADC conversion. The Precision Timing core allows adjustment of the correlated double sampler (CDS) and sample-and-hold amplifier (SHA) clocks with 220 ps resolution at 72 MHz operation. The ADDI7004 also contains a reduced range low voltage differential signaling (LVDS) inter-face for the dual-channel data outputs.

Each analog front end includes black level clamping, a CDS/SHA, a VGA, and a 72 MHz, 14-bit analog-to-digital converter (ADC). Operation is programmed using a 3-wire serial interface.

Packaged in a space-saving, 6 mm × 6 mm, 76-ball BGA, the ADDI7004 is specified over an operating temperature range of −25°C to +85°C.

APPLICATIONS

  • Digital video cameras
  • Digital still cameras
  • Medical Imaging
  • High speed industrial cameras

Subscribe to Welllinkchips !
Your Name
* Email
Submit a request