0
AD9970
  • AD9970
  • AD9970

AD9970

NOT RECOMMENDED FOR NEW DESIGNS

14-Bit CCD Signal Processor with Precision Timing™ Generator

Analog Devices AD9970 Product Info

10 February 2026 9

Features

  • 1.8 V analog and digital core supply voltage
  • Serial data link with reduced range
  • LVDS outputs
  • Correlated double sampler (CDS) with −3 dB, 0 dB, +3 dB, and +6 dB gain
  • 6 dB to 42 dB, 10-bit variable gain amplifier (VGA)
  • 14-bit, 65 MHz ADC
  • Black level clamp with variable level control
  • Complete on-chip timing generator
  • Precision Timing core with 240 ps resolution @ 65 MHz
  • On-chip, 3 V horizontal and RG driver
  • 5 mm × 5 mm, 32-lead LFCSP_VQ

Part details & applications

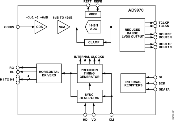
The AD9970 is a highly integrated CCD signal processor for high speed digital video camera applications. Specified at pixel rates of up to 65 MHz, the AD9970 consists of a complete analog front end with analog-to-digital conversion combined with a programmable timing driver. The Precision Timing core allows adjustment of high speed clocks with 240 ps resolution at 65 MHz operation. The AD9970 also contains a reduced range LVDS interface for data outputs.

The analog front end includes black level clamping, CDS, VGA, and a 65 MSPS, 14-bit ADC. The timing driver provides the high speed CCD clock drivers for RG, HL, and H1 to H4. Operation is programmed using a 3-wire serial interface.

Packaged in a space-saving 5 mm × 5 mm, 32-lead LFCSP_VQ, the AD9970 is specified over an operating temperature range of −25°C to +85°C.

For more information about the AD9970, contact Analog Devices via email at afe.ccd@analog.com.

APPLICATIONS

  • Professional HDTV camcorders
  • Professional/high end digital cameras
  • Broadcast cameras
  • Industrial high speed cameras
  • High speed data acquisition systems

Subscribe to Welllinkchips !
Your Name
* Email
Submit a request