0
AD8106
  • AD8106
  • AD8106

AD8106

PRODUCTION

260 MHz, 16 × 5 Buffered Video Crosspoint Switches

Analog Devices AD8106 Product Info

10 February 2026 6

Features

  • 16 × 5 high speed, nonblocking switch arrays: G = 1
  • Pin compatible with AD8110/AD8111, 16 × 8 switch arrays
    • For a 16 × 16 array, see AD8114/AD8115
    • For a 16 x 8 array, see AD8110/AD8111
  • Complete solution
    • Buffered inputs
    • Five output amplifiers
    • Drives 150 Ω loads
  • Excellent video performance
    • 60 MHz 0.1 dB gain flatness
    • 0.02% differential gain error (RL = 150 Ω)
    • 0.02° differential phase error (RL = 150 Ω)
  • Excellent ac performance
    • −3 dB bandwidth > 260 MHz
    • 500 V/μs slew rate
  • Low power of 50 mA
  • Low all-hostile crosstalk of −78 dB at 5 MHz
  • Output disable allows connection of multiple device outputs
  • Reset pin allows disabling of all outputs
  • Excellent ESD rating: exceeds 4000 V human body model
  • 80-lead LQFP (12 mm × 12 mm)

Part details & applications

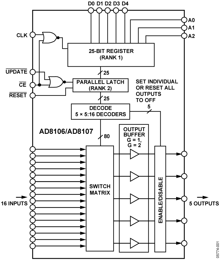
The AD8106 and AD8107 are high speed, 16 × 5 video crosspoint switch matrices. They offer a −3 dB signal bandwidth greater than 260 MHz, and channel switch times of less than 25 ns with 1% settling. With −78 dB of crosstalk and −97 dB isolation (at 5 MHz), the AD8106/AD8107 are useful in many high speed applications. The differential gain and differential phase of greater than 0.02% and 0.02° respectively, along with 0.1 dB flatness out to 60 MHz, make the AD8106/AD8107 ideal for video signal switching.

The AD8106 and AD8107 include five independent output buffers that can be placed into a high impedance state for paralleling crosspoint outputs, preventing off channels from loading the output bus. The AD8106 has a gain of 1, while the AD8107 offers a gain of 2. Both operate on voltage supplies of ±5 V while consuming only 30 mA of idle current. The channel switching is performed via a parallel control, allowing updating of an individual output without reprogramming the entire array.

The AD8106/AD8107 are offered in an 80-lead LQFP and are available over the extended industrial temperature range of −40°C to +85°C.

Applications

  • Routing of high speed signals including:
    • Composite video (NTSC, PAL, S, SECAM)
    • Component video (YUV, RGB)
    • Compressed video (MPEG, Wavelet)
    • 3-level digital video (HDB3)

Subscribe to Welllinkchips !
Your Name
* Email
Submit a request