0
AD7843
  • AD7843

AD7843

PRODUCTION

Touch Screen Digitizer

Analog Devices AD7843 Product Info

10 February 2026 6

Features

  • 4-wire touch screen interface
  • Specified throughput rate of 125 kSPS
  • Low power consumption: 1.37 mW max at 125 kSPS with VCC = 3.6 V
  • Single supply, VCC of 2.2 V to 5.25 V
  • Ratiometric conversion
  • High speed serial interface
  • Programmable 8-bit or 12-bit resolution
  • 2 auxiliary analog inputs
  • Shutdown mode: 1 µA max
  • 16-lead QSOP and TSSOP packages

Part details & applications

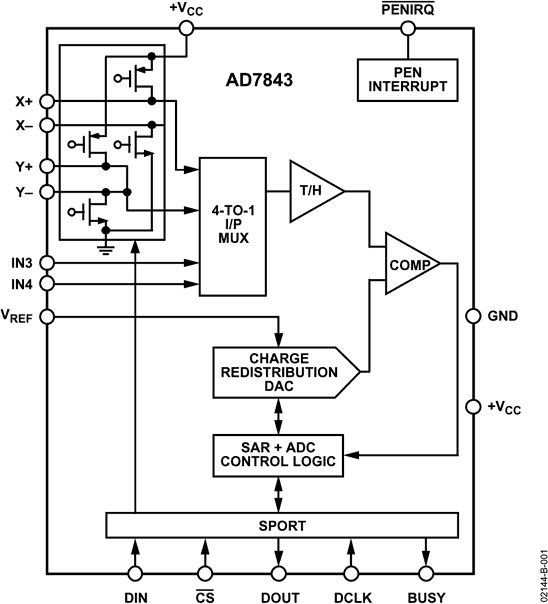
The AD7843 is a 12-bit successive-approximation ADC with a synchronous serial interface and low on resistance switches for driving touch screens. The part operates from a single 2.2 V to 5.25 V power supply and features throughput rates greater than 125 kSPS. The external reference applied to the AD7843 can be varied from 1 V to +VCC, while the analog input range is from 0 V to VREF. The device includes a shutdown mode that reduces the current consumption to less than 1 µA. This part is available in a 16-lead 0.15" Quarter Size Outline (QSOP) package and a 16-lead Thin Shrink Small Outline (TSSOP) package. 

Also see the AD7843 sister part, which is the AD7873. This part is similar to the AD7843 but has added functionality such as an on-chip temperature sensor (-40°C to + 85°C), on-chip 2.5 V reference and direct battery and touch-pressure measurement.

Subscribe to Welllinkchips !
Your Name
* Email
Submit a request