0
AD7761
  • AD7761
  • AD7761

AD7761

PRODUCTION

8-Channel, 16-Bit, Simultaneous Sampling ADC with Power Scaling, 110.8 kHz BW

Analog Devices AD7761 Product Info

10 February 2026 19

Features

  • Precision ac and dc performance
  • 8-channel simultaneous sampling
    • 256 kSPS ADC ODR per channel
    • 97.7 dB dynamic range
    • 110.8 kHz input bandwidth (−3 dB BW)
    • −120 dB THD, typical
    • ±1 LSB INL, ±1 LSB offset error, ±5 LSB gain error
  • Optimized power dissipation vs. noise vs. input bandwidth
    • Selectable power, speed, and input bandwidth
      • Fast (highest speed): 110.8 kHz BW, 51.5 mW per channel
      • Median (half speed): 55.4 kHz BW, 27.5 mW per channel
      • Low power (lowest power): 13.8 kHz BW, 9.375 mW per channel
    • Input BW range: dc to 110.8 kHz
    • Programmable input bandwidth/sampling rates
  • CRC error checking on data interface
  • Daisy-chaining
  • Linear phase digital filter
    • Low latency sinc5 filter
    • Wideband brick wall filter: ±0.005 dB ripple to 102.4 kHz
  • Analog input precharge buffers
  • Power supply
    • AVDD1 = 5 V, AVDD2 = 2.25 V to 5.0 V
    • IOVDD = 2.5 V to 3.3 V or IOVDD = 1.8 V
  • 64-lead LQFP package, no exposed pad
  • Temperature range: −40°C to +105°C

Part details & applications

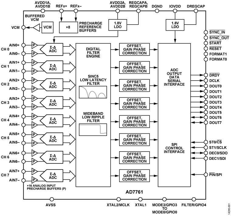
The AD7761 is an 8-channel, simultaneous sampling sigma-delta (Σ-Δ) analog-to-digital converter (ADC) with a Σ-Δ modulator and digital filter per channel, enabling synchronized sampling of ac and dc signals.

The AD7761 achieves 97.7 dB dynamic range at a maximum input bandwidth of 110.8 kHz, combined with typical performance of ±1 LSB integral nonlinearity (INL), ±1 LSB offset error, and ±5 LSB gain error.

The AD7761 user can trade off input bandwidth, output data rate, and power dissipation. Select one of three power modes to optimize the device for noise targets and power consumption. The flexibility of the AD7761 allows it to become a reusable platform for low power dc and high performance ac measurement modules.

The AD7761 has three modes: fast mode (256 kSPS maximum, 110.8 kHz input bandwidth, 51.5 mW per channel), median mode (128 kSPS maximum, 55.4 kHz input bandwidth, 27.5 mW per channel) and low power mode (32 kSPS maximum, 13.8 kHz input bandwidth, 9.375 mW per channel).

The AD7761 offers extensive digital filtering capabilities, such as a wideband, low ±0.005 dB pass-band ripple, antialiasing low-pass filter with sharp roll-off, and 105 dB attenuation at the Nyquist frequency.

Frequency domain measurements can use the wideband linear phase filter. This filter has a flat pass band (±0.005 dB ripple) from dc to 102.4 kHz at 256 kSPS, from dc to 51.2 kHz at 128 kSPS, or from dc to 12.8 kHz at 32 kSPS.

The AD7761 also offers sinc response via a sinc5 filter, a low latency path for low bandwidth, and low noise measurements.

The wideband and sinc5 filters can be selected and run on a per channel basis.

Within these filter options, the user can improve the dynamic range by selecting from decimation rates of ×32, ×64, ×128, ×256, ×512, and ×1024. The ability to vary the decimation filtering optimizes noise performance to the required input bandwidth.

Emb

Subscribe to Welllinkchips !
Your Name
* Email
Submit a request