0
AD7323
  • AD7323
  • AD7323

AD7323

PRODUCTION

500 kSPS, 4-Channel, Software Selectable True bipolar Input, 12-Bit Plus Sign A/D Converter

Analog Devices AD7323 Product Info

10 February 2026 9

Features

  • 12-bit plus sign SAR ADC
  • True bipolar input ranges
  • Software-selectable input ranges 
    ±10 V, ±5 V, ±2.5 V, 0 V to +10 V
  • 500 kSPS throughput rate
  • Four analog input channels with channel sequencer
  • Single-ended, true differential, and pseudo differential analog input capability
  • High analog input impedance
  • Low power: 18 mW
  • Full power signal bandwidth: 22 MHz
  • Internal 2.5 V reference
  • High speed serial interface
  • Power-down modes
  • 16-lead TSSOP package
  • iCMOS process technology

Part details & applications

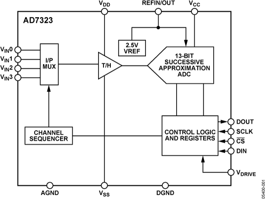
The AD7323 is a 4-channel, 12-bit plus sign successive approximation analog-to-digital converter (ADC) designed on the iCMOS (industrial CMOS) process. iCMOS is a process combining high voltage silicon with submicron CMOS and complementary bipolar technologies. It enables the development of a wide range of high performance analog ICs capable of 33 V operation in a footprint that no previous generation of high voltage parts could achieve. Unlike analog ICs using conventional CMOS processes, iCMOS components can accept bipolar input signals while providing increased performance, dramatically reduced power consumption, and reduced package size.

The AD7323 can accept true bipolar analog input signals. The AD7323 has four software selectable input ranges, ±10 V, ±5 V, ±2.5 V, and 0 V to +10 V. Each analog input channel can be independently programmed to one of the four input ranges. The analog input channels on the AD7323 can be programmed to be single-ended, true differential, or pseudo differential.

The ADC contains a 2.5 V internal reference. The AD7323 also allows for external reference operation. If a 3 V reference is applied to the REFIN/OUT pin, the AD7323 can accept a true bipolar ±12 V analog input. Minimum ±12 V VDD and VSS supplies are required for the ±12 V input range. The ADC has a high speed serial interface that can operate at throughput rates up to 500 kSPS.

PRODUCT HIGHLIGHTS

  1. The AD7323 can accept true bipolar analog input signals, ±10 V, ±5 V, and ±2.5 V, and 0 V to +10 V unipolar signals.
  2. The four analog inputs can be configured as four single-ended inputs, two true differential input pairs, two pseudo differential inputs, or three pseudo differential inputs.
  3. 500 kSPS serial interface.

Subscribe to Welllinkchips !
Your Name
* Email
Submit a request