0
AD7142
  • AD7142
  • AD7142
  • AD7142

AD7142

PRODUCTION

Programmable Controller for Capacitance Touch Sensors

Analog Devices AD7142 Product Info

10 February 2026 17

Features

  • Programmable capacitance-to-digital converter
    36 ms update rate (@ maximum sequence length)
    Better than 1 fF resolution
    14 capacitance sensor input channels
    No external RC tuning components required
    Automatic conversion sequencer
  • On-chip automatic calibration logic
    Automatic compensation for environmental changes
    Automatic adaptive threshold and sensitivity levels
  • On-chip RAM to store calibration data
  • SPI®-compatible serial interface (AD7142)
  • I2C®-compatible serial interface (AD7142-1)
  • Separate VDRIVE level for serial interface
  • Interrupt output and GPIO
  • 32-lead, 5 mm x 5 mm LFCSP_VQ
  • 2.6 V to 3.6 V supply voltage
  • Low operating current
    Full power mode: less than 1 mA
    Low power mode: 50 μA

Part details & applications

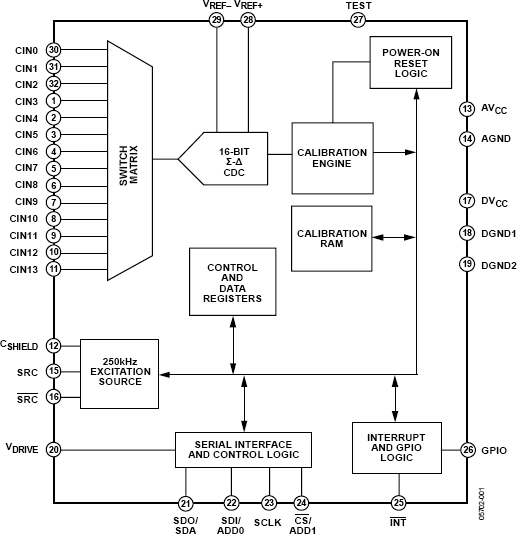
The AD7142 and AD7142-1 are integrated capacitance-to-digital converters (CDCs) with on-chip environmental calibration for use in systems requiring a novel user input method. The AD7142 and AD7142-1 can interface to external capacitance sensors implementing functions such as capacitive buttons, scroll bars, or wheels.

The CDC has 14 inputs channeled through a switch matrix to a 16-bit, 250 kHz sigma-delta (∑-Δ) capacitance-to-digital converter. The CDC is capable of sensing changes in the capacitance of the external sensors and uses this information to register a sensor activation. The external sensors can be arranged as a series of buttons, as a scroll bar or wheel, or as a combination of sensor types. By programming the registers, the user has full control over the CDC setup. High resolution sensors require minor software to run on the host processor.

The AD7142 and AD7142-1 have on-chip calibration logic to account for changes in the ambient environment. The calibration sequence is performed automatically and at continuous intervals, when the sensors are not touched. This ensures that there are no false or nonregistering touches on the external sensors due to a changing environment.

The AD7142 has an SPI-compatible serial interface, and the AD7142-1 has an I2C-compatible serial interface. Both parts have an interrupt output, as well as a general-purpose input/ output (GPIO).

The AD7142 and AD7142-1 are available in a 32-lead, 5 mm × 5 mm LFCSP_VQ and operate from a 2.6 V to 3.6 V supply. The operating current consumption is less than 1 mA, falling to 50 μA in low power mode (conversion interval of 400 ms).

Applications

  • Personal music and multimedia players
  • Cell phones
  • Digital still cameras
  • Smart hand-held devices
  • Television, A/V, and remote controls
  • Gaming consoles

Subscribe to Welllinkchips !
Your Name
* Email
Submit a request