0
AD5675R
  • AD5675R
  • AD5675R
  • AD5675R

AD5675R

PRODUCTION

Octal, 16-Bit nanoDAC+ with 2 ppm/°C Reference, I2C Interface

Analog Devices AD5675R Product Info

10 February 2026 8

Features

  • High Performance
    • High relative accuracy (INL):
      ±3 LSB maximum at 16 bits
    • Total unadjusted error (TUE): ±0.14% of FSR maximum
    • Offset error: ±1.5 mV maximum
    • Gain error: ±0.06% of FSR maximum
    • Low drift 2.5 V reference: 2 ppm/°C typical
  • Wide Operating Ranges
    • −40°C to +125°C temperature range
    • 2.7 V to 5.5 V power supply
  • Easy Implementation
    • User selectable gain of 1 or 2 (GAIN pin/bit)
    • 1.8 V logic compatibility
  • 400 kHz I2C-compatible serial interface
  • 20-lead, RoHS-compliant TSSOP and LFCSP

Part details & applications

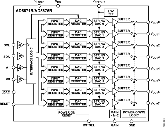
The AD5671R/AD5675R are low power, octal, 12-/16-bit buffered voltage output digital-to-analog converters (DACs). They include a 2.5 V, 2 ppm/°C internal reference (enabled by default) and a gain select pin giving a full-scale output of 2.5 V (gain = 1) or 5 V (gain = 2). The devices operate from a single 2.7 V to 5.5 V supply and are guaranteed monotonic by design. The AD5671R/AD5675R are available in a 20-lead TSSOP and in a 20-lead LFCSP and incorporate a power-on reset circuit and a RSTSEL pin that ensures the DAC outputs power up to zero scale or midscale and remain there until a valid write. The AD5671R/AD5675R contain a power-down mode, reducing the current consumption to 1 μA typical while in power-down mode.

Product Highlights

  1. High Relative Accuracy (INL).
    AD5671R (12-bit): ±1 LSB maximum
    AD5675R (16-bit): ±3 LSB maximum
  2. Low Drift 2.5 V On-Chip Reference

Applications

  • Optical transceivers
  • Base-station power amplifiers
  • Process control (PLC input/output cards)
  • Industrial automation
  • Data acquisition systems

Subscribe to Welllinkchips !
Your Name
* Email
Submit a request