0
AD5590
  • AD5590
  • AD5590

AD5590

PRODUCTION

16 Input/16 Output Analog I/O Port With Integrated Amplifiers

Analog Devices AD5590 Product Info

10 February 2026 10

Features

  • Operational amplifiers
  • Offset voltage: 2.2 mV maximum
  • Low input bias current: 1 pA maximum
  • Single supply operation
  • Low noise: 22 nV/√Hz
  • Unity gain stable
  • Available in 80-ball CSP_BGA package
  • See Datasheet for additional features

Part details & applications

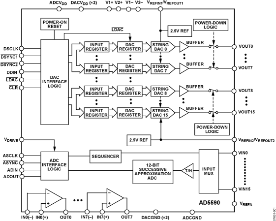
The AD5590 is a 16-channel input and 16-channel output analog I/O port with eight uncommitted amplifiers, operating from a single 4.5 V to 5.25 V supply. The AD5590 comprises 16 input channels multiplexed into a 1 MSPS, 12-bit successive approximation ADC with a sequencer to allow a preprogrammed selection of channels to be converted sequentially. The ADC contains a low noise, wide bandwidth track-and-hold amplifier that can handle input frequencies in excess of 1 MHz.

The conversion process and data acquisition are controlled using ASYNC and the serial clock signal, allowing the device to easily interface with microprocessors or DSPs. The input signal is sampled on the falling edge of ASYNC and conversion is also initiated at this point. There are no pipeline delays associated with the ADC. By setting the relevant bits in the control register, the analog input range for the ADC can be selected to be a 0 V to VREFA input or a 0 V to 2 × VREFA with either straight binary or twos complement output coding. The conversion time is determined by the ASCLK frequency because it is also used as the master clock to control the conversion.

The DAC section of the AD5590 comprises sixteen 12-bit DACs divided into two groups of eight. Each group has an on-chip reference. The on-board references are off at power-up, allowing the use of external references. The internal references are enabled via a software write.

The AD5590 incorporates a power-on reset circuit that ensures that the DAC outputs power up to 0 V and remain powered up at this level until a valid write takes place. The DAC contains a power-down feature that reduces the current consumption of the device and provides software-selectable output loads while in power-down mode for any or all DAC channels. The outputs of all DACs can be upd

Subscribe to Welllinkchips !
Your Name
* Email
Submit a request